Льдогенераторы
Относятся к автоматическим устройствам для приготовления пищевого льда, используемого на предприятиях общественного питания.
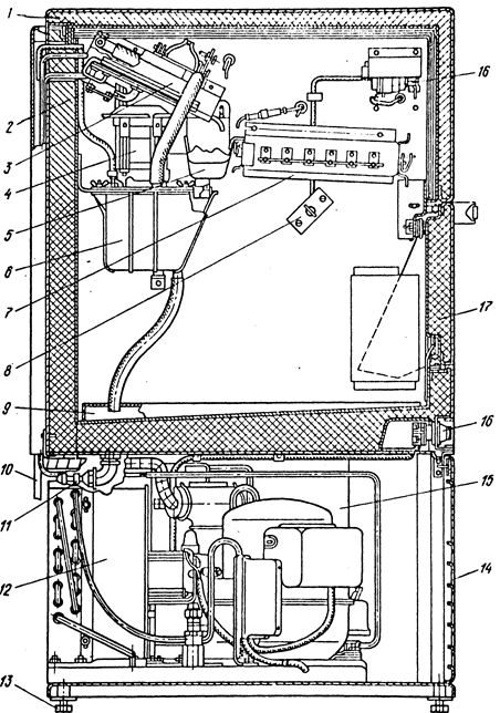
Льдогенератор «Торос-2». В нем получают пищевой прозрачный лед в виде небольших кубиков. Это шкаф, разделенный по высоте на два отделения (рис. 50). В верхней части размещены испаритель, насос, водосборник, ванна, режущая решетка и бункер для хранения льда. Стенки верхней части изолированы. В нижней неизолированной части шкафа размещены холодильный агрегат и щит электрооборудования.
Испаритель изготовлен из двух листов нержавеющей стали. Верхний лист с гладкой поверхностью и бортами с трех сторон. На нем намораживается лед. На нижнем листе выштампованы каналы, внутри которых проходит хладагент R12. Листы сварены роликовой сваркой.
Из ванны 6 свежая вода центробежным насосом 4 подается по гибкому шлангу в коллектор. Вода равномерно распределяется по поверхности наклонного испарителя 3. Насос смонтирован в ванне. Уровень воды в ванне поддерживается поплавковым устройством. Протекая тонким слоем по холодной наклонной поверхности испарителя 3, вода постепенно замерзает и образует на испарителе слой льда в виде плиты. Не замерзшая вода сливается через водосборник 5 в канализацию, а в ванну 6 поступает свежая водопроводная вода. Смена воды способствует получению прозрачного льда высокого качества.
Толщину намерзания льда регулируют с помощью щупа 2, положение которого меняют регулировочным винтом. Когда лед коснется щупа, выключается электродвигатель насоса и прекращается подача воды, открывается электромагнитный вентиль на нагнетательной стороне компрессора. Теплые пары R12, минуя конденсатор, ресивер и ТРВ, поступают через специальный тройник и электромагнитный вентиль прямо в испаритель. Плита льда подтаивает и сползает на решетку 7 для разрезания.

Рис. 50 - Льдогенератор «Торос-2»:
1 – крышка; 2– щуп; 3 – испаритель;4 – насос; 5 – водосборник; 6 – ванна; 7 – решетка режущая; 8 – кожух капилляра; 9 – лист съемный; 10 – трубка; 11 – штуцер; 12 – холодильный агрегат; 13 – ножка; 14 – решетка вентиляционная; 15 – крышка; 16 – переключатель; 17 – дверь; 18 – реле
При сползании лед перемещает кронштейн микропереключателя, замыкая его контакты. При этом льдогенератор включается на замораживание, а в решетку 7 включается ток напряжением 12 В. Решетка 7 из нихромовой проволоки диаметром 0,6 мм натянута на раму из нержавеющей стали. При пропускании тока проволока нагревается и разрезает лед на кубики или пластинки, которые падают в бункер. При наполнении бункера льдом до кожуха капилляра 8 термореле 18 выключает холодильную машину. При освобождении бункера машина включается и процесс намораживания льда возобновляется.
Производительность льдогенератора 40 кг льда в сутки, толщина льда 8…16 мм, вместимость бункера 25 кг. Льдогенератор укомплектован холодильным агрегатом ВСр400~1БЛ.
Льдогенератор ЛТ-50. Льдогенератор ЛТ-50 (рис. 51) представляет собой автоматическое устройство. Конструкция льдогенератора состоит из нескольких взаимосвязанных узлов, обеспечивающих его функциональное назначение. Корпус состоит из прямоугольного поддона 1, в четырех углах которого расположены регулируемые по высоте ножки 2. К поддону крепятся две

Рис. 51 - Устройство льдогенератора ЛТ-50:
1 – поддон; 2 – опоры регулируемые; 3 – боковины; 4 – стенка задняя; 5, 6 – крышки; 7, 16 – решетки; 8 – люк; 9 – холодильный агрегат; 10 – бункер; 11 – ванна; 12 – электронасос; 13 – шторка; 14 – испаритель; 15 – ванна
наружные боковины 3, на которых крепится задняя стенка 4. Сверху установлена теплоизоляционная крышка 5. С передней стороны расположены теплоизоляционная крышка 6 бункера для хранения льда и легкосъемная решетка 7 с жалюзями. Боковины имеют технологические люки 8 с жалюзями. Внутри корпуса, в нижней его части, находится машинное отделение, в котором располагаются холодильный агрегат 9, прикрепленный к поддону, и пульт управления. Сверху, над машинным отделением, находится льдоприготовительное отделение, состоящее из теплоизолированного бункера 10 для хранения льда, представляющего собой прямоугольный короб, сваренный из нержавеющей стали. В верхней части бункера установлен чувствительный элемент терморегулятора заполнения бункера льдом. Над бункером расположена ванна 11 для хранения запаса питьевой воды, идущей на приготовление льда. В левой части ванны установлен электронасос, погружная часть которого находится в ванне с водой. Выше дна ванны по ее продольной оси установлен ороситель, представляющий собой профилированную трубку с прорезями (форсунками) для создания фонтана воды, ороситель соединен с нагнетательным патрубком электронасоса резиновой трубкой. Для предотвращения попадания струй воды от оросителя в ванну сбора льда, установлена защитная шторка 13. Над оросителем установлен испаритель 14, состоящий из полимерной пластины прямоугольной формы, с одной стороны которой находятся плотно вставленные в нее рабочие органы испарителя – полые медные пальцы, обращенные к оросителю, а с другой, верхней стороны, находятся хладоновые коммуникации, соединяющие торцы этих пальцев так, что хладагент, циркулируя в системе, последовательно проходит через все 56 пальцев. Внутри пальцев установлена вертикальная перегородка с обеспечением прохода хладагента. Верхняя часть испарителя с четырех сторон окаймлена бортиками так, что образуется ванна, в которую подается подогретая вода для нагрева пальцев, в результате чего происходит оттаивание льда. В противоположном месте от подачи подогретой воды находится отверстие для слива остывшей воды в ванну. Под испарителем установлена приемная решетка 16. В подводящей водяной коммуникации, расположенной вне ледогенератора, установлены фильтр тонкой очистки воды и водяной редуктор с манометром для регулирования давления водопроводной воды, подаваемой в льдогенератор. Функциональная схема льдогенера-тора приведена на (рис. 52). Льдогенератор работает следующим образом: нажатием на кнопку «Работа», расположенную на

Рис. 52 - Функциональная схема льдогенератора ЛТ-50:
1 – герметичный компрессор; 2 – насос; 3 – испаритель; 4 – ороситель; 5 – ванна; 6 – теплообменник; 7 – датчик-реле температуры; 8 – соленоидный клапан; 9 – трубка; 10 – ванна; 11 – капиллярная трубка; 12 – фильтр осушитель; 13 – вентилятор; 14 – конденсатор
пульте управления, одновременно включается холодильный агрегат 1 и водяной электронасос 2, в результате чего в испаритель 3 начинает поступать хладагент, а вода из форсунок оросителя 4 начинает омывать рабочие поверхности пальцев испарителя. Лед образуется на пальцах испарителя в результате намерзания слоев воды, движущейся равномерным беспрерывным потоком, не успевшая намерзнуть вода стекает в ванну 5, а оттуда вновь подается электронасосом в испаритель. В процессе работы холодильного агрегата горячие пары хладагента нагревают в специальном теплообменнике 6 питьевую воду, поступающую из водопровода. Термодатчик 7 пульта управления контролирует в процессе намораживания льда температуру в испарителе в точке «Б». При достижении заданной температуры от (–6…–12 °C) включается реле времени, расположенное на пульте управления, которое выключает холодильный агрегат, водяной насос и включает соленоидный клапан 8, который открывается, и подогретая в теплообменнике вода по трубке 9 вытесняется новой порцией холодной воды, поступающей под давлением из водопровода в ванну 10, где нагревает выступающие торцы пальцев; и за счет высокой теплопроводности меди происходит нагрев тела пальца и оттаивание намороженного льда на каждом из пальцев. Сошедшие с пальцев куски льда падают на наклонную решетку и соскальзывают в бункер для сбора и хранения льда. Вода из ванны 10 стекает через калиброванное дренажное отверстие в ванну 5 с водой и используется для восполнения потерь воды, израсходованной на образование льда. В исходном положении в ванну заливается питьевая вода. Для исключения переполнения ванны в ней устанавливается переливной патрубок. После двухминутного оттаивания по команде пульта управления соленоидный клапан закрывается и вновь автоматически включаются холодильный агрегат и водяной электронасос. Начинается новый цикл работы. Наполнение бункера льдом происходит до тех пор, пока не произойдет соприкосновения льда с чувствительной частью датчика – терморегулятором заполнения бункера. При погружении чувствительной части датчика в лед льдогенератор автоматически выключается, а при израсходовании части льда и освобождении от него чувствительной части терморегулятора льдогенератор вновь автоматически включается.
Техническая характеристика некоторых льдогенераторов приведена в табл. 17.
Таблица 17 - Техническая характеристика льдогенераторов