Оборудование магазинов с продавцами
К нему относятся прилавки-витрины типа «Таир»-102, «Таир»-106М, ПВХС/В-1-0,315, ПВХС/В-1-0,25 и др., технические характеристики которых приведены в табл. 7.
Прилавок-витрина «Таир»-102состоит из витрины, прилавка и машинного отделения. Охлаждаемая витрина расположена сверху, спереди и с торцов она имеет прозрачные ограждения. На дне витрины установлены противни для выкладки продуктов. Сверху витрина открыта, что обеспечивает свободный доступ продавца к товару. В прилавке имеется платформа, на которую устанавливают две корзины для продуктов. С помощью специальной рукоятки платформу можно выдвигать из прилавка. Испаритель в витрине расположен под рабочим столом, а в прилавке – под потолком. В пространстве между испарителем и дном витрины расположены ТРВ и теплообменник. В машинном отделении смонтирован холодильный агрегат и щит электрооборудования.
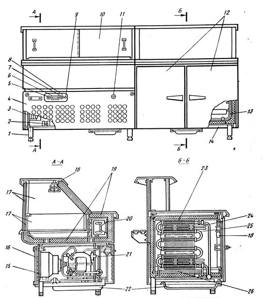
Прилавок-витрина «Таир»-106М является модификацией прилавка-витрины «Таир»-102. Отличается тем, что витрина сверху имеет раздвижные шторки (рис. 12), циркуляция воздуха в ней осуществляется вентилятором. Витрина освещается люминесцентной лампой. Поддержание заданных температур в охлаждаемых объемах всех прилавков-витрин для магазинов с продавцами осуществляется с помощью термореле РТХО, расположенного в машинном отделении. Оттаивание испарителя происходит после нажатия на кнопку РТХО.
Прилавок-витрина ПВХС/В-1-0,315.Предназначен для демонстрации и продажи скоропортящихся продуктов, которые размещаются на поддонах. Состоит из трех частей: охлаждаемого прилавка, охлаждаемой демонстрационной витрины и машинного отделения (рис. 13).
Охлаждаемый прилавок расположен в правой части (со стороны продавца) и представляет собой замкнутый объем, образованный нержавеющим коробом и двумя открывающимися дверями. Сверху прилавок закрыт панелью. Короб и облицовка дверей имеют заливную теплоизоляцию. Над столом на стойках расположена полка из нержавеющей стали. Ребристотрубный испаритель разделяет прилавок на два отсека. В магазинах кулинарии
|
Рис. 12 - Прилавок-витрина «Таир»-106:
1 – электрощит; 2 – емкость для талой воды; 3 – холодильный агрегат; 4 – машинное отделение; 5 – решетки для упаковочной бумаги; 6 – емкость для протирочного материала; 7 – створки; 8 – ручка термореле; 9 – тумблеры; 10 – охлаждаемый прилавок; 11 – поддон; 12 – полка для сумок; 13 – противень; 14 – испаритель прилавка; 15 – люминесцентная лампа; 16 – термометр; 17 – щиток; 18 – рабочий стол; 19 – испаритель витрины; 20 – выдвижная платформа
|
Рис. 13 - Прилавок-витрина ПВХС/В-1-0,315:
1 – опора; 2 – зажим заземляющий; 3 – панель с электроаппаратурой; 4, 16 – решетки; 5 – переключатель холодильного агрегата; 6 – термометр манометрический; 7 – выключатель лампы освещения витрины; 8 – панель приборная; 9 – лампа сигнальная «оттаивание испарителей»; 10 – створки раздвижные витрины; 11 – термореле РТХО; 12 – двери прилавка; 13 – рама основания; 14 – кассета для функциональных емкостей; 15 – агрегат холодильный; 17 – стекла витрины; 18 – светильники; 19 – теплоизоляция; 20, 25 – испарители; 21 – вентиль терморегулирующий; 22 – поддоны сбора талой воды; 23 – короб прилавка внутренний; 24 – решетки съемные; 26 – лоток для слива талой воды
в каждом отсеке устанавливают кассету для размещения функциональных емкостей. Внутренний объем освещается лампой, которая включается автоматически при открывании двери.
Витрина расположена над машинным отделением и отделена от него нержавеющим коробом, который залит теплоизоляцией. Короб и двойной ряд стекол, вставленных в специальный профиль, образуют полезный охлаждаемый объем. В нише короба витрины смонтирован испаритель с защитной решеткой. Талая вода отводится по лотку в поддон прилавка и далее по каналу – в поддон под машинным отделением.
Прилавок-витрина обслуживается холодильным агрегатом ВС630(2). Он смонтирован в средней части машинного отделения. Там же установлены ТРВ-1М и РТХО. В левой части машинного отделения со стороны продавца расположена выдвижная панель с электроаппаратурой.
Витрина холодильная открытая ВХ-1-0,8-О. Предназначена для кратковременного хранения и продажи предварительно охлажденных и подмороженных быстропортящихся пищевых продуктов. Продукты располагают на полках и в функциональных емкостях.
Витрина холодильная среднетемпературная закрытая ВХС-1-0,8-З (рис. 14). Используют для кратковременного хранения, демонстрации и продажи предварительно охлажденных продуктов.
Витрина состоит из машинного отделения и охлаждаемой витрины. Охлаждаемый объем витрины с боков и со стороны покупателей имеет остекление, а со стороны продавца – раздвижные стеклянные створки для доступа в охлаждаемый объем. В нише охлаждаемого объема смонтирован ребристотрубный испаритель, закрытый легкосъемным декоративным ограждением. С наружной стороны ниша и верхняя часть охлаждаемого объема покрыты металлическим листом и образуют рабочий стол продавца и полку. Машинное отделение представляет собой раму-основание, к которой прикреплены облицовочные панели. В машинном отделении смонтирован холодильный агрегат, щит управления с автоматическим выключателем, устройством УЭ-2 для автоматической оттайки испарителя.
|
Рис. 14 - Витрина холодильная закрытая ВХС-1-0,8-3
Витрина холодильная среднетемпературная открытая ВХС-1-0,8-О (рис. 15).Предназначена для кратковременного хранения и продажи предварительно охлажденных и подмороженных продуктов в магазинах самообслуживания. Холодильная витрина ВХС-1-0,8-0 состоит из охлаждаемого отделения и машинного. Охлаждаемое отделение выполнено из стекла и металла. Задняя стенка, дно и нижняя часть передней стенки имеют наружную облицовку из листовой стали и внутреннюю из листового алюминия. Межстенное пространство заполнено пенополиуретаном. Дно витрины имеет уклон в сторону сливного отверстия для отвода талой воды в канализацию с помощью резинового шланга.
Боковые панели и верхняя часть передней стенки остеклены. Сверху витрина имеет открытый проем для отбора товара покупателями. Для создания завесы из охлажденного воздуха над товарной выкладкой в охлажденном объеме витрины предусмотрены воздушные каналы – всасывающий и нагнетательный. В машинном отделении смонтированы холодильный агрегат, щит электрооборудования с автоматическим выключателем, электронным устройством УЭ-2 для автоматической оттайки снеговой «шубы». Принудительное движение охлажденного воздуха обеспечивают два вентилятора.
|
а)
б)
Рис. 15 - Витрина холодильная открытая ВХС-1-0,8-0:
а – общий вид; б – разрез;
1 – электровентилятор; 2 – теплоизоляция; 3 – испаритель; 4 – решетка нагнетательного воздушного канала; 5 и 8 – полки; 6 – щит управления; 7 – стеклянное ограждение; 9 – всасывающий воздушный канал; 10 – холодильный агрегат; 11 – регулируемые по высоте опоры; 12 – щит электрооборудования; 13 – шланг для слива талой воды
На фронтальной части полки (5) смонтирован щит управления (6) с сигнальными лампами, выключателем и манометрическим термометром для контроля температуры в охлаждаемой части витрины. Товары выкладывают на полку (8), выполненную из листового алюминия. Предельная высота загрузки обозначена линией на боковых стенках.
Витрина холодильная низкотемпературная открытая ВХН-1-0,71-О. Ее назначение - кратковременное хранение предварительно упакованных замороженных пищевых продуктов на полках и в функциональных емкостях.
В нерабочее время проемы открытых витрин закрывают крышками. Во всех перечисленных витринах использована теплоизоляция из пенополиуретана. Снаружи они облицованы листовой электрооцинкованной сталью. Покрытие лакокрасочное, из слоистого пластика или полимерное. Внутри – облицованы листовым алюминием. В каждой витрине с лицевой стороны встроен холодильный агрегат. Это позволяет размещать витрины вплотную друг к другу.
Оттаивание снеговой шубы происходит за счет теплоты окружающего воздуха (витрины ВХС-1-0,8-З, ВХС-1-1,25-Д, ВХС-1-0,8-О) или с горячих паров хладагента (витрины ВХН-1-0,71-1 и ВХ-1-0,8-О).
Витрина холодильная демонстрационная ВХС-1-1,25Д. Предназначена для хранения, демонстрации и продажи предварительно упакованных и охлажденных продуктов. Витрина имеет увеличенную демонстрационную площадь, верхний охлаждаемый объем с открывающимися прозрачными дверцами, объемными полками-решетками и штангой с крюками. Нижний объем имеет открытый проем для функциональных емкостей.
Низкотемпературные прилавки. Прилавки марок ПХН-2-1,6В и ПХН-2-2,5В, предназначенные для кратковременного хранения и демонстрации предварительно замороженных и упакованных пищевых продуктов в магазинах типа «Универсам».
Стационарный прилавок ПХН-1-0,28, передвижной ПХН-1-0,28П и передвижной с тентом ПХН-1-0,28ПТ – закрытые низкотемпературные прилавки для краткосрочного хранения и торговли мороженым, а также замороженными продуктами.
Прилавки изготовлены с заливной теплоизоляцией из пенополиуретана. Снаружи облицованы листовой электрооцинкованной сталью, внутри – листовым алюминием.
Прилавки ПХН-2-1,6В и ПХН-2-2,5В обслуживаются вынесенными холодильными агрегатами с воздушным охлаждением конденсатора. В прилавок ПХН-1-0,28 встроен холодильный агрегат.
Таблица 7 - Техническая характеристика новых видов витрин и прилавков
| Марка | Внутренний объем, м3 | Марка холодильного агрегата | Полезный объем, м3 | Температура, °С | Габаритные размеры, мм |
| ВХ-1-0,8-О | 0,8 | ВН400(2М) | 0,45 | -6…+2 | 1800´1080´890 |
| ВХС-1-0,8-З | 0,8 | ВС630(2) | 0,42 | 0…+8 | 1880´1080´1250 |
| ВХС-1-1,25-Д | 1,25 | ВС1000(2) | 0,71 | 0…+8 | 1880´1080´1840 |
| ВХС-1-0,8-О | 0,8 | ВС1000(2) | 0,45 | 0…+8 | 1800´1080´915 |
| ВХН-1-0,71-О | 0,71 | ВН630(2М) | 0,4 | -13…-18 | 1880´1080´915 |
| ВХН-1-0,315 | 0,315 | ВН630(2М) | 0,16 | -18 | 1200´800´1300 |
| СВ-1-0,315 | 0,315 | ВН630(2М) | 0.16 | -2…+8 | 1200´800´1300 |
| ПХН-2-1,6В | 2,5 | 1АКР6-2-6 | 1,6 | -18 | 5500´1080´775 |
| ПХН-2,25В | 3.15 | 1АКР6-2-4 | 2,5 | -18 | 5500´1230´1250 |
| ПХН-1-0,28 | 0,28 | ВН315(2) | 0.25 | -18 | 1200´750´980 |
Прилавки-витрины среднетемпературные «Таир»-1203, «Таир»-106М, «Таир»-150, «Таир»-1201, «Таир»-150М1предназначены для магазинов с обслуживанием через продавца. В верхней части находится демонстрационная витрина, которая остеклена, в нижней части находится прилавок для хранения продуктов.
Внешний вид прилавков «Таир» приведен на рис. 16, а их технические характеристики даны в табл. 8.
Комбинированный комплект «Таир» 930 состоит из витрины холодильной низкотемпературной ВХН-1-0,315, среднетемпературной стойки-витрины СВ-1-0,315 и охлаждаемого прилавка ПХС-1-0,315. «Таир» 930 удобен для работы с продуктами, требующими разную температуру хранения.

а) б)
Рис. 16 - Среднетемпературные прилавки «Таир»:
а – «Таир»-150М1, б – «Таир»-1201
Холодильный комплект «Таир» 1203 состоит из двух среднетемпературных витрин «Таир» 150 и оснащается холодильным прилавком ПХС-1-300, который, как и в «Таире» 930, служит рабочим местом для продавца и дополнительным охлаждаемым объемом для хранения продуктов. По желанию клиента холодильный прилавок может быть заменен на неохлаждаемый П-300.
АНПО «Марихолодмаш» предлагает серию «Новый дизайн». Среднетемпературные витрины «Таир» 1204 и «Таир» 1206 этой серии оснащены светильником, наклонными поддонами и дополнительным внутренним охлаждаемым объемом. Съемные боковины позволяют компоновать витрины в единый ряд, имеется электронная панель контроля рабочих параметров (рис. 17).
Витрины изготавливаются с использованием гнутых стекол, итальянских профилей, французских компрессоров «LUNITE HERMETIK».
«Таир» 1205 оснащена широкой столешницей для установки и подключения весов и прочего оборудования; имеет дополнительный охлаждаемый объем, большую площадь для выкладки товаров и нестандартный витринный дизайн.
|
|
Рис. 17. Среднетемпературные витрины:
а – «Таир» 1204, б – «Таир» 1206
Высокотемпературная пристенная витрина «Таир» 1307 предназначена для хранения и демонстрации продуктов питания, требующих незначительного охлаждения (молоко, соки, фрукты). Оснащается дополнительной лицевой шторкой, а также съемными боковинами из стекла, что позволяет осуществлять компоновку в единый ряд с другим оборудованием (рис. 18). Витрина может использоваться в магазинах самообслуживания. Комплексы «Айсберг» 201 (с автономным охлаждением) и «Айсберг» 202 (с централизованным охлаждением) состоят из среднетемпературных витрин серии «Таир» «Новый дизайн» и комбинируются в продажную линию исходя из возможности торговых площадей.
Витрина холодильная среднетемпературная «Таир»-1213 представляет собой скомпонованные между собой витрины «Таир»-1206 и «Таир»-1204. Витрина имеет светильник, охлаждаемый бункер, наклонные поддоны для лучшей экспозиции товара. Съемные боковины позволяют компоновать витрины в единый ряд. Витрина имеет широкую столешницу для установки и подключения весов, электронное устройство контроля рабочих параметров, бесшумную холодильную машину.
|
Рис. 18 - Витрина пристенная «Таир» 1307
Для небольших торговых помещений предприятий торговли и общественного питания выпускаются витрины: среднетемпературная витрина «Таир»-1160с, кондитерская витрина «Таир»-1160к и низкотемпературная витрина «Таир»-1160.
Таблица 8 - Технические характеристики прилавков-витрин «Таир»
| Наименование | Охлаждаемый объем, м3 | Демонстрационная площадь, м2 | Температура, 0С | Потребление эл/энергии в сутки, кВт/ч | Габаритные размеры, мм | ||
| «Таир»-150 | 0,15 | 0,52 | 0…+7 | 5,2 | |||
| «Таир»-106М | 0,35 | 0,84 | 0…+7 | 7,5 | |||
| «Таир»-1201 | 0,315 | 0,84 | 0…+7 | 7,8 | |||
| «Таир»-150М1 | 0,15 | 0,52 | 0…+7 | 6,0 | |||
| «Таир»-150М1н | 0,15 | 0,52 | -8…0 | - | |||
| «Таир»-1202 (ВХС-1-0,8-3) | 0,42 | 1,42 | 0…+7 | 10,5 | |||
| «Таир»-1203 | 0,59 | 1,04 | 0…+7 | 7,7 | |||
| «Таир»-1204 | 0,22 | 0,62 | 0…+7 | 5,5 | |||
| «Таир»-1204н | 0,22 | 0,62 | -6…+6 | 9,5 | |||
| «Таир»-1205 | 0,22 | 0,62 | 0…+7 | 4,5 | |||
| 0,33 | 0,93 | 0…+7 | 6,2 | |||
| «Таир»-1206н | 0,33 | 0,93 | -6…+6 | 10,5 | |||
| «Таир»-1213 | 1,14 | 1,55 | 0…8 | 8,2 | 2870´990´1270 | ||
| «Таир»-1160 | 0,1 | 0,65 | -8…0 | - | 1200´920´1270 | ||
| «Таир»-1160с | 0,2 | 0,8 | 0…8 | - | 1200´920´1270 | ||
| «Таир»-1160к | 0,2 | 1,0 | 0…8 | - | 1200´920´1430 | ||
| «Таир»-1307 | 0,9 | 0,62 | +5…+10 |
Завод профессионального оборудования (ЗПО) выпускает витрины-прилавки «CRYSPI» (табл. 9). Среднетемпературные прилавки эконом-класса «OCTAVA» имеют ширину 0,8 м и незаменимы для магазинов с малой площадью. Прилавки оснащены изогнутым фронтальным стеклом и выпускаются в двух вариантах длин: 1,2 и 1,5 м. Витрины-прилавки эконом-класса серии «NOTA» используются в торговых комплексах (рынках), павильонах и небольших по площади магазинах. Модельный ряд холодильных витрин «SONATA» класса «люкс» включает в себя прилавки длиной: 1,2; 1,6; 1,6; 2,4 м.
Все выпускаемые витрины оснащены холодильным агрегатом «Aspera» (Италия) или «Electrolux» (Испания). Панели и корпус холодильных витрин выполнены с заливкой пенополиуретаном. Рабочие поверхности холодильных витрин изготовлены из шлифованной нержавеющей стали. Боковые панели холодильных витрин выполнены из ударопрочного АБС-пластика. Имеется люминесцентная подсветка поверхности экспозиции витрины. У низкотемпературных витрин-прилавков серии «GAMMA» имеется комплект сетчатых корзин. Осуществляется автоматическое управление работой холодильного агрегата с помощью электронного блока управления. Помимо стандартного оснащения витрины класса «люкс» серии «SONATA» имеют дополнительное оснащение: широкая цветовая гамма окраски корпуса витрины; верхний и нижний варианты подъема стекла; большой выбор дополнительных аксессуаров; динамическое охлаждение; возможность конструирования непрерывных линий холодильных витрин; подключение к централи холодоснабжения (под выносной агрегат).
Таблица 9 - Технические характеристики витрин-прилавков «CRYSPI»
| Наименование модели | Охлаждаемый объем, м3 | Демонстрационная площадь, м2 | Температура, 0С | Габаритные размеры, мм |
| «Oktava» 1200 | 0,25 | 0,5 | 0…+7 | 1200´800´1200 |
| «Oktava» 1500 | 0,35 | 0,65 | 0…+7 | 1500´800´1200 |
| «Gamma» 1200 | 0,4 | 0,85 | 0…+7 | 1200´1100´1210 |
| «Gamma» 1500 | 0,55 | 1,1 | 0…+7 | 1500´1100´1210 |
| «Gamma» 1800 | 0,65 | 1,3 | 0…+7 | 1800´1100´1210 |
| «Gamma» 1200М | - | 0,85 | -15…-18 | 1200´1100´1210 |
| «Gamma» 1500М | - | 1,1 | -15…-18 | 1500´1100´1210 |
| «Gamma» 1800М | - | 1,3 | -15…-18 | 1800´1100´1210 |
| «Gamma» К 1350 | 0,515 | 1,8 | +1…+10 | 1350´890´1400 |
| «Gamma» К 1600 | 0,615 | 2,1 | +1…+10 | 1600´890´1400 |
| «Gamma» 1С | 0,44 | 0,85 | 0…+7 | 1300´1100´1210 |
| «Gamma» ОС | 0,44 | 0,92 | 0…+7 | 1300´1100´1210 |
| «Nota» 1200 SP | 0,115 | 0,57 | 0…+7 | 1200´745´1140 |
| «Nota» 1500 SP | 0,114 | 0,7 | 0…+7 | 1500´745´1140 |
| «Nota» 1200 P | 0,115 | 0,5 | 0…+7 | 1200´745´1140 |
| «Nota» 1500 P | 0,14 | 0,7 | 0…+7 | 1200´745´1140 |
| «Nota» 1200 G | 0,115 | 0,57 | 0…+7 | 1200´745´1140 |
| «Nota» 1500 G | 0,14 | 0,7 | 0…+7 | 1200´745´1140 |
Холодильная витрина-прилавок среднетемпературная (ВПС) серии «OKTAVA» с узкой выкладкой и изогнутым стеклом (рис. 19) предназначена для кратковременного хранения, демонстрации и продажи предварительно охлажденных пищевых продуктов. Она оснащена емкостью для хранения товарного запаса.
Рис. 19 - Витрина-прилавок среднетемпературная серии «OKTAVA»
Среднетемпературная витрина-прилавок серии «GAMMA» с широкой выкладкой и изогнутым стеклом представлена на рис. 20.

Рис. 20 - Витрина-прилавок среднетемпературная серии «GAMMA»
Низкотемпературная витрина-прилавок «GAMMA»-М предназначена для кратковременного хранения, демонстрации и продажи предварительно замороженных пищевых продуктов (рис. 21).

Рис. 21 - Витрина холодильная низкотемпературная «GAMMA»-М
Витрины-прилавки среднетемпературные «GAMMA»-К предназначены для кратковременного хранения, демонстрации и продажи кондитерских изделий. Оснащены выдвижными лотками и тремя дополнительными стеклянными полками (рис. 22).

Рис. 22 - Кондитерская витрина-прилавок серии «GAMMA»-К
Угловые холодильные витрины-прилавки среднетемпературной серии «GAMMA» обеспечивают поворот линий холодильных прилавков на 90 0С (рис. 23).

а) б)
Рис. 23 - Угловая витрина-прилавок серии «GAMMA»:
а – внутренний угол; б – внешний угол
ЗАО «Ариада» выпускает холодильные витрины эконом-класса («Блюз» и «Аллегро»), и класса люкс («Диско», «Лира», «Джаз»).
Серия «Аллегро» – это универсальные холодильные витрины для магазинов любого типа: от супермаркета до торгового павильона. Витрины изготавливаются в двух температурных классах: средне- (0…+60С) и низкотемпературном (–120С). Для эффективного использования торговых площадей изготавливаются различные по длине модели, а также внутренние и внешние углы. Это позволяет формировать торговую зону, огибая колонны и точно повторяя контур стен и перегородок помещения. Управление витриной вынесено на блок управления с температурным индикатором. Для уменьшения теплопритока и обеспечения дополнительной экономичности на фронтальной части устанавливается теплоизоляционный стеклопакет.
Модели среднетемпературного класса имеют дополнительную камеру для размещения продуктов с удобным доступом со стороны продавца. Температура во внутренней камере на 5…80С ниже, чем в основном демонстрационном объеме. Низкотемпературные витрины «Аллегро» отличаются от среднетемпературных витрин отсутствием дополнительной камеры хранения, и при этом более низким уровнем загрузки товара. Выкладка товара в низкотемпературных моделях осуществляется на демонстрационные решетки (в отличие от зеркальных поддонов среднетемпературных моделей) (рис. 24).
а) б)
Рис. 24 - Витрина «Аллегро»:
а – среднетемпературная; б – низкотемпературная
Серия «Блюз» – предназначена для небольших магазинных павильонов, для тех торговых точек, где небольшие площади и требуется экономия выставочного пространства. Витрины имеют более узкую, чем у витрин «Аллегро», ширину выкладки. Витрины изготавливаются в двух температурных классах: средне- и низкотемпературном.
Серия «Диско» – относится к классу «люкс», но по цене лишь немного дороже эконом-класса. Витрины «Диско» имеют большую, чем витрины эконом-класса, ширину выкладки. В стандартное оснащение витрины входит статическое охлаждение, поднимающееся гнутое стекло, верхняя аллюминиевая столешница (рис. 25). Кроме того, для моделей данной серии предусмотрена возможность стыковки в канал, т.е. при составлении холодильного ряда, боковины рядом стоящих витрин убираются и витрины стыкуются друг с другом, образуя единую холодильную линию.
|
Рис. 25 - Среднетемпературная холодильная витрина «Диско»
Витрины серии «Джаз» – отличаются от витрин эконом-класса большей шириной выкладки, за счет чего значительно увеличена экспозиционная поверхность. Верхняя часть витрины выполнена из алюминия, как практикуется в большинстве импортных витрин. При разработке серии «Джаз» применено новое дизайнерское решение – гладкая поверхность из нержавеющей стали (экспозиционная поверхность витрины, столешницы) заменена на рифленую поверхность, за счет чего витрина смотрится необычно. Витрины комплектуются импортным компрессором TECUMSEH. Витрины идеальны для использования в супермаркетах, а так же крупных и средних магазинах с типом торговли «через прилавок».
Витрины серии «Лира» – имеют поднимающееся переднее стекло, что представляет дополнительное удобство в обслуживании для персонала, функцию вентиляции и более широкую, чем у витрины «Диско», ширину выкладки. Для моделей данной серии предусмотрена возможность стыковки в канал. Витрины «Лира» изготавливаются в двух температурных классах: средне- и низкотемпературном. Для уменьшения теплопритоков на фронтальной части устанавливается теплоизоляционный стеклопакет. Блок вентиляторов обеспечивает равномерное охлаждение внутренних камер и препятствует образованию наледи. На витрины серии «Лира» устанавливаются холодильные агрегаты лучших европейских производителей.
Технические характеристики некоторых витрин, выпускаемых ЗАО «Ариада», представлены в табл. 10.
Таблица 10 - Техническая характеристика витрин «Ариада»
| Наименование модели | Охлаждаемый объем, м3 | Демонстрационная площадь, м2 | Температура, °С | Габаритные размеры, мм | ||
| «Аллегро» - АСI | 0,42 | 1,82 | 0…+6 | 2667x1220x1200 | ||
| «Аллегро» А - 154 | 0,21 | 0,97 | +2…+8 | 1167x1030x1200 | ||
| «Блюз» - ВСI | 0,45 | 1,46 | 0…+6 | 2522x1043x1225 | ||
| «Блюз» В - 110 | 0,16 | 0,56 | 0…+6 | 1199x884x1225 | ||
| «Диско» Д - 154 | 0,28 | 1,09 | 0…+6 | 1567x1120x1210 | ||
| «Диско» - ДСI | 0,54 | 2,08 | 0…+6 | 2667x1344x1210 | ||
| «Лира» - L 154 | 0,38 | 1,29 | 0…+6 | 1547x1150x1260 | ||
| «Лира» - L 199 | 0,52 | 1,7 | +2…+6 | 1994x1160x1320 | ||
| - | 1,16 | -10…+6 | 1567x1160x1320 | ||
| «Аллегро» А154 М1 | - | 0,8 | -1…-12 | 1587x1030x1200 | ||
| «Блюз»-В110М1 | - | 0,46 | -12…-18 | 1219x884x1225 | ||
| «Блюз» В-1999М1 | - | 0,85 | -12…-18 | 2034x884x1225 | ||
| «Диско» D-180М1 | - | 0,55 | -12 | 1860x1120x1210 | ||
| «Лира» L-154М1 | - | 0,95 | -18…-20 | 1547x1150x1260 | ||
Красноярский завод холодильного оборудования «Айсберг» выпускает холодильные витрины ПВС, ПВСР, ПВН, ПВУ, ПВСР LUX.
Холодильный прилавок ПВС – предназначен для небольших магазинов и павильонов, поэтому имеет только экспозиционную камеру для выставки продуктов. ПВС имеет электронный пульт с терморегулятором и автооттайку.
Холодильный прилавок ПВСР – кроме экспозиционной камеры для выставки товара, оснащен внутренней камерой хранения для дневного запаса товара. Загрузка внутренней камеры хранения осуществляется через дверцы на задней стенке холодильника. В отличие от ПВС у модели ПВСР существует укороченная версия ПВСР 1,24, а наличие ПВУ дает возможность поставить прилавок не только в линию, но и углом.
Низкотемпературный прилавок ПВН – предназначен для демонстрации и хранения продуктов в замороженном виде. Конструкция прилавка предусматривает возможность моделирования торгового ряда с прилавками ПВСР, ПВУ. «Айсберг» ПВН имеет: экспозиционную морозильную камеру с подсветкой, автооттайку, электронный пульт управления, а также обогрев переднего стекла для предотвращения запотевания (рис. 26).
Угловой внутренний холодильный прилавок ПВУ – используется как модуль в линии холодильных прилавков. Модель «Айсберг» ПВУ, кроме экспозиционной камеры для выставки товара, оснащена внутренней камерой для дневного запаса товара. Загрузка внутренней камеры хранения осуществляется через дверцы на задней стенке холодильника. ПВУ имеет электронный пульт с терморегулятором и автооттайку.
Холодильный прилавок ПВСР LUX – отличается от остальных моделей наличием АВС – пластиковых пенонаполненных боковин современного дизайна. В прилавке устанавливается плафон из алюминиевого анодированного профиля; материалом для столешницы служит Саяногорский мрамор или зеркальная нержавейка.

Рис. 26 - Низкотемпературный прилавок «Айсберг» ПВН
Техническая характеристика прилавков-витрин «Айсберг» и «Бирюса» представлены в табл. 11.
Таблица 11 - Техническая характеристика прилавков-витрин «Айсберг» и «Бирюса»
| Наименование модели | Охлаждаемый объем, м3 | Демонстрационная площадь, м2 | Температура, 0С | Габаритные размеры, мм |
| ПВС | 0,16 | 0,75 | +1…+8 | 1550x805x1270 |
| ПВСР 1,24 | 0,134 | 0,63 | +1…+8 | 1240x850x1270 |
| ПВСР 1,55 | 0,16 | 0,75 | +1…+8 | 1550x850x1270 |
| ПВН | 0,18 | 0,75 | -5…-12 | 1550x850x1270 |
| ПВУ | 0,07 | 0,3 | +1…+8 | 1050x1050x1270 |
| ПВСР LUX | 0,16 | 0,75 | +1…+8 | 1550x850x1270 |
| «Бирюса» 160 | 0,16 | - | -6…+6 | 570x1360x580 |
| «Бирюса» 510 | 0,51 | - | 0…+7 | 1270x830x1350 |
| «Бирюса» 610 | 0,61 | - | 0…+7 | 1270x830x1570 |
Прилавок-витрина «Бирюса» 610 представлен на рис. 27.
Рис. 27 - Прилавок-витрина «Бирюса» 610
Клинская фабрика торгового оборудования «КИФАТО» производит серию холодильных витрин для хранения и торговли мясом, сыром, колбасными, молочными, гастрономическими, кондитерскими изделиями и рыбой.
Техническая характеристика некоторых витрин, выпускаемых фабрикой, представлена в табл. 12.
Среднетемпературная холодильная витрина «Истра» СГ предназначена для павильонов и магазинов, испытывающих дефицит в торговых площадях. В витрине есть камера для хранения продуктов, используется гнутое стекло. Рабочая поверхность – мрамор, постформинг или декорированная нержавеющая сталь.
Таблица 12 - Техническая характеристика холодильных витрин
| Наименование модели | Охлаждаемый объем, м3 | Демонстрационная площадь, м2 | Температура, 0С | Габаритные размеры, мм |
| «Истра» 1200 СГ | 0,138 | 0,67 | +2…+8 | 1300´810´1240 |
| «Истра» 1500 СГ | 0,172 | 0,84 | +2…+8 | 1600´810´1240 |
| «Истра» 1800 СГ | 0,207 | 1,08 | +2…+8 | 1900´810´1240 |
| «Аляска» 1200 НГ | 0,215 | 0,858 | -18…-24 | 1330´1160´1300 |
| «Аляска» 1800 НГ | 0,325 | 1,3 | -18…-24 | 1930´1160´1300 |
| «Милан» 1500 НГ | 0,168 | 0,84 | -8…-12 | 1600´810´1240 |
Низкотемпературные холодильные витрины «Аляска» и «Милан» предназначены для магазинов различного типа. Лобовое стекло витрин обогревается с помощью электронагревателей, предотвращающих запотевание. Для лучшей теплоизоляции используются стеклопакеты. Витрины оснащены электронным контроллером «Eliwell» с режимом автоматической оттайки. Для более эффективного процесса оттайки используются ТЭНы. Работа витрин обеспечивается агрегатами «Aspera» или «Danfoss».