Счётчик на базе микросхем ИЕ2.
Микросхема ИЕ2 - четырёхразрядный десятичный счётчик пульсаций. Поэтому создавать счётчик на базе этой микросхемы будем в
следующем порядке:
1. Находим двоично-десятичный код модуля счёта M:
Mдв.дес. = "01100111" .
2. Определяем разрядность двоично-десятичного кода Mдв.дес.:
Nдв.дес. =8 .
3. Определяем требуемое количество корпусов микросхем ИЕ2:
| 2 |
| 4 |
| 4 |
Nдв.дес. 8 Nкорп.ИЕ2 :=

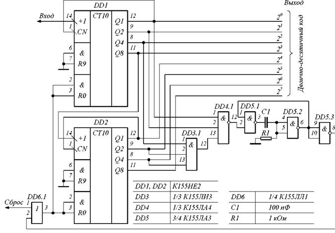
Рис. 1. Схема счётчика на базе микросхем ИЕ2.
4. На схеме счётчика (рис. 1) соединяем последовательно 2 микросхемы ИЕ2, соединяя выход Q8 (вывод 11) первой микросхемы DD1 со входом +1 (вывод 14) второй микросхемы DD2 . Выход Q1 (вывод 12) соединяем со входом CN (вывод 1) в каждой микросхеме ИЕ2. С Q–выходов микросхем ИЕ2 снимаем двоично-десятичный код номера импульса на входе устройства. Для обеспечения требуемого модуля счёта те Q –выходы, для которых в разрядах двоично-десятичного кода модуля счёта Mдв.дес. стоят единицы, следует соединить с многовходовым логическим элементом (ЛЭ) «И» и подать с его выхода импульс сброса на входы R0, & (выводы 2, 3) микросхем ИЕ2 (DD1,DD2 ). При этом для обеспечения возможности сброса счётчика в ноль внешним положительным импульсом, следует включить в схему ЛЭ «ИЛИ» ( DD5.1).
Следует, однако, отметить, что моделирование счётчика показало, что такое решение не обеспечивает правильный сброс счётчика при достижении требуемого модуля счёта. Поэтому вместо многовходового ЛЭ «И» в схему был введен многовходовый ЛЭ «И-НЕ» DD3.1- DD4.1 и формирователь импульсов DD5.1- DD5.3, R1, C1, после чего сброс счётчика стал производиться безошибочно.
5. Модель разрабатываемого счётчика в пакете Micro Cap 7.1.6 приведена на рис. 2.

Рис. 2. Схема моделирования счётчика на базе ИЕ2 в пакете Micro Cap 7.1.6.
Согласно диаграммы, работы счётчика показанной в [3], можно проверить работу счетчика, где видно, что сброс счётчика действительно происходит при требуемом модуле счёта.

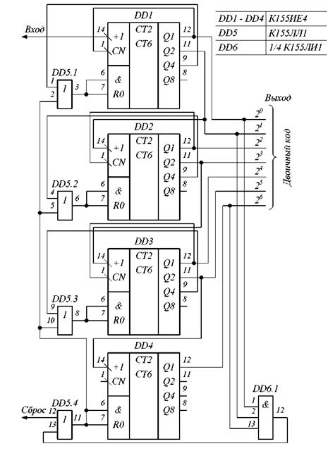
Рис. 4. Схема счётчика на базе микросхем ИЕ4.
Счётчик на базе микросхем ИЕ5.Микросхема ИЕ5 - четырёхразрядный двоичный счётчик-делитель на 8 и на 16.
Создавать счётчик на базе микросхем ИЕ5 будем в следующем порядке:
1. Находим двоичный код модуля счёта M:
Mдв. = "1000011" .
2. Определяем разрядность двоичного кода Mдв.:
Nдв. =7 .
|
| . |
3. Опредляем требуемое количество корпусов микросхем ИЕ5:
где E(x) - функция, округления до большего целого

Рис. 7. Схема счётчика на базе микросхем ИЕ5.
4. На схеме счётчика (рис. 7) соединяем последовательно 2 микросхемы ИЕ5, соединяя выход Q8 (вывод 11) первой микросхемы DD1 со входом +1 (вывод 14) второй микросхемы DD2 . Выход Q1 (вывод 12) соединяем со входом CN (вывод 1) в каждой микросхеме ИЕ5. С Q-выходов микросхем ИЕ5 снимаем двоичный код номера импульса на входе устройства. Для обеспечения требуемого модуля счёта те Q -выходы, для которых в разрядах двоичного кода модуля счёта Mдв стоят единицы, следует соединить с многовходовым ЛЭ «И» (DD3.1) и подать с его выхода импульс сброса на входы R0, & (выводы 2, 3) микросхем ИЕ5 (DD1 ,DD2 ). При этом для обеспечения возможности сброса счётчика в ноль внешним положительным импульсом, следует включить в схему ЛЭ «ИЛИ» (DD4.1).