Воздушные, элегазовые и вакуумные выключатели
1. Цель работы
Изучение различных видов выключателей, их конструкции и принцип работы
2. Программа работы
1. Изучить назначение, конструкцию и виды выключателей
2. Ознакомится с принципом работы различных видов выключателей
3. Краткие теоретические сведения
Ввоздушном выключателе сжатый воздух выполняет две функции - гашения дуги и управления механизмом самого выключателя. Изоляция токоведущих частей от земли осуществляется фарфором.
Конструктивные схемы воздушных выключателей, применяемых на подстанциях, в основном определяются способом создания изоляционного промежутка между контактами выключателя, находящегося в отключенном положении, способом подачи сжатого воздуха в дугогасительные устройства, системой управления выключателем, наличием шунтирующих резисторов и делителей напряжения и некоторыми другими особенностями.

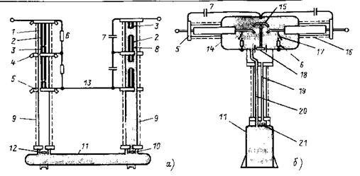
а - серия ВВШ (ВВН); б - серия ВВБ; 1 - дугогасительная камера; 2 - подвижный контакт; 3 - неподвижный контакт; 4 - выхлопной клапан; 5 - фланец; 6 - резистор; 7 - емкостный делитель напряжения (в новых конструкциях выключателей на 110 кВ не применяется); 8 - отделитель; 9 - фарфоровый опорный изолятор; 10 - дутьевой клапан отделителя; 11 - резервуар сжатого воздуха; 12, 18 - дутьевые клапаны дугогасительной камеры; 13 - трубчатая шина; 14 - металлическая камера; 15 - траверса с подвижными контактами 16 - фарфоровая рубашка; 17 - дополнительный контакт; 19 — импульсный воздухопроводу 20 - основной воздухопровод; 21 - клапаны отключения и включения
Рис. 9.1.Принципиальные конструктивные схемы воздушных выключателей на напряжение 110 кВ
На рис. 9.1 представлены две принципиально отличные конструктивные схемы воздушных выключателей напряжением 110 кВ и выше. По схеме рис. 9.1,а выполнялись выключатели с воздухо-наполненными отделителями серии ВВН и их модификации ВВШ (обе серии сняты с производства, но находятся еще в эксплуатации), а по схеме рис. 9.1, б выполняются выключатели бакового типа серии ВВБ. Этой серии выключателей присущи особенности, существенно отличающие их от воздушных выключателей серий ВВН и ВВШ:
унификация узлов на все классы напряжения;
возможность опорного и подвесного исполнения (для сверхвысоких напряжений);
отсутствие фарфоровых изоляторов, находящихся под давлением сжатого воздуха, что обеспечивает их взрывобезопасность;
независимое дутье в каждом разрыве, т.е. устранение взаимного влияния соседних разрывов в момент гашения дуги;
большая разрывная мощность.
Выключатели серии ВВШ (рис. 3.6,а). Основанием каждого полюса служит резервуар со сжатым воздухом 11. Выключатели имеют две контактные системы, соединенные последовательно. Первая - контактная система дугогасительных камер 1, контакты которой лишь кратковременно расходятся на время гашения дуги. Вторая — контактная система отделителей 8, отключающая ток, ограниченный шунтирующими резисторами, и образующая надежный изоляционный промежуток при отключенном положении выключателя, когда контакту дугогасительных камер замкнуты. Камеры и отделители связаны между собой трубчатыми шинами 13, к которым подключены резисторы 6, шунтирующие камеры и емкостные делители напряжения 7, предназначенные для выравнивания распределения напряжения в отключенном положении отделителей.
Сжатый воздух поступает из резервуара полюса в гасительные камеры и отделители через дутьевые клапаны 12 к 10 соответственно, находящиеся у основания каждого полюса, по полым опорным изоляторам 9. В корпусах дутьевых клапанов установлены обратные клапаны, через которые при включенном положении выключателя поступает воздух для вентиляции внутренних полостей опорной изоляции, камер и отделителей, откуда через неплотности контактов и механизмов, выходит в атмосферу. Прекращение подачи сжатого воздуха на вентиляцию может привести к аварии с выключателем. Когда отделители находятся под давлением сжатого воздуха, их обратные клапаны закрыты, и система вентиляции не работает.
Выключатель имеет распределительный шкаф, в котором расположены пневматические приборы. Он устанавливается вне зоны действия выброса газов из гасительных камер. На рис. 9.2 дана схема распределительного шкафа. Сжатый воздух подводится к распределительному шкафу по воздухопроводу 5. От распределительного шкафа к каждой фазе выключателя отходит главный воздухопровод 8 и воздухопровод системы вентиляции 7. Редукторный клапан 6 служит для снижения давления сжатого воздуха, поступающего на вентиляцию. Электроконтактные манометры 1 предназначены для сигнализации о недопустимом понижении давления сжатого воздуха в резервуарах и запрещения в этом случае автоматического повторного включения.
Управление выключателями однополюсное и трехполюсное осуществляется электромагнитами включения и отключения, воздействующими на системы пусковых клапанов.
Для включения выключателя подается команда на электромагнит включения, при этом система клапанов отделителя срабатывает на закрытие дутьевого клапана и сброс воздуха из полости отделителя. Контакты отделителя смыкаются, создавая электрическую цепь через выключатель.
Для отключения выключателя подается команда на электромагнит отключения, при этом через дутьевой клапан в гасительную камеру устремляется сжатый воздух. Под действием сжатого воздуха подвижные контакты Дугогасительного устройства отходят от неподвижных; между контактами возникает электрическая дуга. Дуга гасится струей сжатого воздуха, и продукты ее горения вытесняются в атмосферу через выхлопные клапаны. Контакты отделителя размыкаются с некоторым запозданием, когда дуга в камере окончательно погаснет и между контактами восстановится электрическая прочность. Контакты отделителя расходятся и удерживаются в разомкнутом состоянии сжатым воздухом. В конце операции отключения подача сжатого воздуха в камеру прекращается и ее контакты смыкаются.
Выключатели серии В В Б (рис. 9.1,б) выпускаются на напряжение 110—750 кВ. Контактная система полюса вместе со своим механизмом и дутьевым клапаном находится внутри металлической камеры 14, наполненной сжатым воздухом и изолированной от земли фарфоровой опорной колонкой. Камера находится под высоким потенциалом. Полюс выключателя 110 кВ состоит из двух металлических камер, разделенных промежуточным изолятором.
Внутри опорных колонок проложено по два стеклопластиковых воздухопровода, один из которых служит для постоянной подачи сжатого воздуха в камеры, второй — для импульсной подачи сжатого воздуха при отключении исброса воздуха при включении выключателя.
Дугогасительная камеры имеет два главных и два дополнительных разрыва. Главные контакты 15 отключают полный ток электрической цепи. Они шунтированы резисторами 6, которые служат для выравнивания распределения напряжения между разрывами в процессе отключения и для снижения скорости восстанавливающегося напряжения. Дополнительные контакты 17 отключают остаточный ток, проходящий через резисторы после гашения дуги на главных контактах.
По обе стороны камеры имеются эпоксидные вводы, защищенные снаружи фарфоровыми покрышками от атмосферных воздействий. Внутренние полости опорных изоляторов и фарфоровых покрышек вводов постоянно вентилируются. Для вентиляции воздух пониженного давления подается по трубам через редукторный клапан, установленный в распределительном шкафу. Когда выключатель отключен, воздух через указатель продувки на цоколе поступает в полость опорного изолятора, а из него, разветвляясь, в покрышки вводов и полость промежуточного изолятора. Из покрышек вводов воздух выходит в атмосферу через указатели продувки, установленные на вводах. Если выключатель находится во включенном положении, вентиляционный воздух, кроме того, поступает в полости импульсных воздухопроводов.
Питание воздушных выключателей сжатым воздухом производится через шкафы управления, где размещены элементы пневматического и электрического управления — системы клапанов, электромагниты управления, вспомогательные контакты с пневмоприводном, сборки зажимов, устройства световой сигнализации положения выключателя. В шкафу управления каждого полюса установлен электроконтактный манометр, показывающий давление в гасительной камере полюса выключателя в отключенном его положении.

1 - электроконтактный манометр; 2 - обратный клапан; 3 - воздушный фильтр; 4 - запорный вентиль; 5 - подводящий воздухопровод; 6 - редукторный клапан; 7 - воздухопровод системы вентиляции; 8 — главный воздухопровод
Рис. 9.2.Схема распределительного шкафа для воздушного выключателя серии ВВШ (ВВН)

1 - отводы к полюсам выключателя; 2 — блок управления полюсом; 3 - дугогаси-тельная камера (резервуар полюса); 4 — распределительный шкаф; 5 - главный воздухопровод; 6 — основной воздухопровод для вентиляции
Рис. 9.3.Схема соединения распределительного шкафа с выключателем серии ВВБ
Подача сжатого воздуха из воздухораспределительной сети к выключателю производится через распределительный шкаф, схема соединения которого с выключателем показана на рис. 9.3. С помощью устройств распределительного шкафа производится очистка сжатого воздуха, поступающего из магистрального воздухопровода, и его распределение по камерам полюсов выключателя, редуцирование воздуха для вентиляции, отсоединение обратным клапаном резервуаров выключателей от магистральных воздухопроводов при снижении в них давления, блокировка работы выключателей при недостаточном давлении воздуха.
Включение выключателя производится воздействием на электромагнит включения, который открывает пусковой клапан включения. В результате дальнейшего взаимодействия клапанных систем выключателя происходит перевод его механизма в положение, соответствующее включенному выключателю.
Отключение выключателя производится воздействием на электромагнит отключения, который перемещает пусковой клапан отключения. Действие клапанных систем приводит к открытию дутьевых клапанов дугогасительных камер (через дутьевые клапаны камеры выключателя сообщаются с атмосферой, благодаря чему создается дутье). Далее размыкаются главные контакты, и на обоих разрывах полюса возникает электрическая дуга, которая под действием электродинамических сил и сжатого воздуха, вытекающего из камер, перебрасывается на неподвижные контакты и противоэлектроды и гасится при переходе тока через нуль.
Если выключатель имеет шунтирующие резисторы, то после погасания дуги на главных контактах происходит размыкание дополнительных контактов и отключение ими сравнительно небольшого остаточного тока.
После отключения выключателя его траверса с подвижными контактами удерживается в отключенном положении специальным фиксирующим механизмом, ролики которого препятствуют перемещению штока, связанного с траверсой.
В крупномодульной серии выключателей ВВБК на напряжение 110-1150 кВ использованы конструктивные принципы выключателей серии ВВБ. В этих выключателях применена система управления с пневмомеханической передачей, в которой одна часть элементов приводится в действие общим пневматическим приводом с помощью изоляционных тяг, а другая имеет индивидуальные поршневые пневматические устройства. Система управления с пневмомеханической передачей в большей мере обеспечивает одновременность перемещения подвижных элементов модулей и быстродействие выключателя, чем система управления только с пневматической передачей.
Выключатели не имеют заземленных резервуаров со сжатым воздухом. Весь запас сжатого воздуха (номинальное давление 4 МПа) заключен в гасительных камерах, находящихся под напряжением.
Выключатели серии ВВБК на напряжение 1150 кВ по техническим и экономическим соображениям выполняются в подвесном исполнении. В выключателях применена пневмосветовая система управления. Оперативные команды от передающего устройства, находящегося на потенциале земли, передаются к приемному устройству, расположенному на высоком потенциале, с помощью светового потока инфракрасного диапазона, создаваемого светодиодами. Световые сигналы принимаются фотодиодами, преобразуются в электрические импульсы и вызывают срабатывание соответствующих исполнительных механизмов. По одному оптическому каналу передаются команды и на включение, и на отключение выключателя.
Выключатели серии ВНВ. Серия ВНВ составляется из унифицированных дугогасительных модулей и выпускается на напряжение от 110 до 1150 кВ. Дугогасительные устройства с двухсторонним дутьем располагаются в металлической камере, постоянно (как при включенном, так и при отключенном положении выключателя) заполненной сжатым воздухом с номинальным давлением 4 МПа. Во всех классах напряжения выключатели имеют опорное исполнение. Основанием опорных колонок служит резервуар сжатого воздуха со шкафом управления, в котором расположен пневматический привод, управляющий изоляционными тягами. На каждой опорной колонке устанавливается по одному двухразрывному модулю. Число последовательно включаемых модулей определяется классом напряжения выключателя.
Внутри опорных колонок проложены изоляционные трубы для подачи сжатого воздуха и размещения изоляционных тяг. С помощью изоляционных тяг разводятся главные контакты через систему рычагов, находящихся в камере. Гашение дуги в камере осуществляется дутьем сжатого воздуха, выбрасываемого в атмосферу через трубчатые контакты и выхлопные клапаны. Контактная система модуля присоединяется к шинам с помощью изолирующих вводов.
Выключатель не имеет отделителя. Контакты его дугогасительного устройства при отключении вначале расходятся на расстояние, оптимальное для гашения дуги, а после погасания дуги — на необходимое изоляционное расстояние в отключенном положении.

1 - делительный конденсатор; 2 – главные контакты; 3 - дополнительные контакты; 4 - резистор; 5 - контейнер; 6 - дугогасительная камера
Рис. 9.4. Принципиальная электрическая схема выключателя серии ВНВ
На рис. 9.4 показана принципиальная электрическая схема выключателя серии ВНВ. Главные контакты 2 шунтированы делительными конденсаторами 1, расположенными снаружи камеры, и резисторами 4, размещенными вместе с коммутирующими их дополнительными контактами 3 в металлических контейнерах 5, внутренний объем которых заполнен сжатым воздухом. Дополнительные контакты отключают ограниченный резисторами ток.

1 - резервуар сжатого воздуха; 2 - отвод к полюсу от воздухопровода системы вентиляции; 3 - вентиль на отводе к полюсу от главного воздухопровода; 4 - главный воздухопровод; 5 — распределительный шкаф
Рис. 9.5.Схема соединения распределительного шкафа с выключателем серии ВНВ:
Три фазы выключателя имеют общий распределительный шкаф, схема соединения которого с выключателем показана на рис. 9.5.
Для включения выключателя подается команда на электромагнит включения. В результате срабатывания пневматической системы главные контакты идут на включение. Включение дополнительных контактов шунтирующей цепи происходит с запозданием по отношению к моменту замыкания главных контактов.
При отключении выключателя сначала размыкаются главные контакты, и между ними возникает дуга. Несколько раньше открывается дутьевой клапан, обеспечивающий интенсивное дутье в момент возникновения дуги и ее гашения. После размыкания главных контактов размыкаются дополнительные контакты.
Неполадки в работе. Причины неполадок характерны для воздушных выключателей всех типов. Наиболее часто повторяющимися неполадками являются следующие:
1) отказы в отключении токов КЗ. Они в основном происходят из-за недостаточной отключающей способности воздушных выключателей гасить электрическую дугу, а также при отключении неудаленных КЗ, сопровождающихся большой скоростью восстановления напряжения на контактах, хотя ток КЗ при этом может быть меньше номинального тока отключения. При удалении точки короткого замыкания от шин подстанции скорость восстановления напряжения в общем случае уменьшается.
До недавнего времени полагали, что наиболее тяжелым коротким замыканием является повреждение на шинах. Однако практикой и анализом установлено, что процессы коротких замыканий на участке линий протяженностью от 0,5 до 8-10 км (т.е. в зоне так называемого километрического эффекта) характеризуются большими значениями амплитуды первого пика высокочастотных колебаний и очень высокой начальной скоростью восстанавливающегося напряжения, при этом, как правило, происходит повторный пробой межконтактного промежутка и выключатель не справляется с отключением. Применяемыми в настоящее время способами улучшения работы воздушных выключателей является шунтирование дугового разрыва низкоомным резистором и повышение эффективности дугогасящих устройств путем увеличения последовательно включенных мест разрыва;
2) дефекты контактных систем. Их основная причина - дефекты конструкций отдельных узлов выключателя, заклинивания деталей, приводящие к зависанию подвижных контактов в промежуточном положении или к недостаточному вжиму контактов. Зависания подвижных контактов камер и отделителей выключателей серии ВВШ (ВВН) вызываются загрязнением и "надирами" на трущихся поверхностях. Если зависание происходит во время отключения КЗ, то горящей дугой разрушаются контактные системы и фарфоровая изоляция. Отмечены случаи неполномодульного отключения выключателей серии ВВБ, при этом один модуль выключателей оказывался в отключенном положении, а другой во включенном. Отключившийся модуль выключателя не выдерживал восстанавливающего напряжения, в результате чего происходило перекрытие фарфоровой покрышки ввода и пробой межконтактного промежутка;
3) перекрытия опорной изоляции. Перекрытия по наружной поверхности обусловлены главными образом загрязнением изоляторов уносами промышленных предприятий пылью при ее увлажнении. Проникновение и накопление влаги внутри изоляторов, а также прекращение продувки внутренних полостей воздухопроводов обычно приводит к перекрытиям изоляции по внутренней поверхности и разрушениям выключателей;
4) неисправности механизмов приводов и клапанов. Значительное число отказов в работе выключателей (в том числе выключателей серии ВНВ) связано с дефектами клапанов (некачественные уплотнения клапанов дугогасительных устройств, изломы, заклинивания), попаданием под клапаны посторонних предметов, повреждением электромагнитов и цепей управления. Часто происходит самопроизвольное уменьшение сброса давления из-за попадания в каналы клапанов отсечек пыли и смазки.
Все эти неисправности, как правило, приводят к неполнофазной работе выключателей;
5) повреждения резиновых уплотнений. В эксплуатации наблюдались случаи выдувания прокладок из фланцевых соединении изоляторов, находящихся под давлением сжатого воздуха, и нарушения герметичности соединений из-за потери упругих свойств резины. Для устранения этих нежелательных явлений производятся обжатия всех элементов эластичного крепления изоляторов. Периодичность устанавливается с учетом имеющегося опыта (обычно перед наступлением холодной погоды). Более частые (сезонные) обжатия приводят к деформации и преждевременному выходу из строя резиновых прокладок и уплотнений. Отмечены случаи ненадежной работы резиновых уплотнений и других узлов воздушных выключателей, например уплотнений изолирующих воздухопроводов.
Краткое описание неполадок в работе выключателей приведено с той целью, чтобы оперативный персонал имел о них некоторое представление, необходимое для анализа обнаруженных явлений и предупреждения повреждений. Устранение возникших неполадок производится специально обученным ремонтным персоналом, при этом никакие работы в распределительных шкафах и на выключателях, находящихся под рабочим давлением, не должны разрешаться.
Элегазовые выключатели.
В настоящее время элегазовые выключатели используются главным образом в комплектных распределительной устройствах 110—220 кВ. В качестве дугогасительной, теплоотводящей и изолирующей среды в них применяете» элегаз (электротехнический газ). Выбор элегаза (шестифтористая сера SF6) не случаен. Чистый газообразный элегаз химически не активен, безвреден, не горит и не поддерживает горения обладает повышенной теплопроводящей способностью, удачно сочетает себе изоляционные и дугогасящие свойства, легкодоступен и сравнительно недорог. Электрическая прочность элегаза в 2,5 раза превышает прочность воздуха. Его электрические характеристики обладают высокой стабильностью. При нормальной эксплуатации элегаз не действует на материалы, применяемые в аппаратостроении; он не "стареет" и не требует ухода, как, например, масло.
|
Учитывая перечисленные свойства элегаза, в выключателях применяют простые конструкции дугогасительных устройств при небольшом числе разрывов и малой длительности горения дуги.
а - в положении "включено"; б - в процессе отключения. Подвижные части зачернены, неподвижные заштрихованы
Рис. 9.6. Автопневматическое дугогасительное устройство элегазового выключателя 110кВ.
Полюс элегазового выключателя представляет собой герметичный заземленный металлический резервуар, в котором размещено дугогасительное устройство. Резервуар заполнен сжатым элегазом (в выключателях серии ЯЭ на напряжение 110 кВ номинальное давление элегаза 0,6 МПа). На рис. 9.6 приведена конструктивная схема одного разрыва автоматического дугогасительного устройства элегазового выключателя. Во включенном положении (рис. 9.6, а) ламели главного подвижного контакта 3 плотно охватывают неподвижный трубчатый контакт 7, создавая цепь электрическому току. В процессе отключения выключателя (рис. 9.6,6) подвижная система, состоящая из цилиндра 4, подвижного контакта 3 и фторопластового сопла 2, опускается вниз, при этом элегаз, находящийся в полости А неподвижного цилиндра 5, сжимается и давление в этой полости повышается. Сжатый газ направляется в зону дуги и гасит ее по выходе контакта 1 из сопла 2. Таким образом, элегазовый выключатель работает без выброса газа наружу; гашение дуги происходит быстро (20—25 мс) с выделением лишь незначительного количества энергии, генерируемой дугой.
Электрическая дуга частично разлагает элегаз. Основная масса продуктов разложения рекомбинирует (восстанавливается), оставшаяся часть поглощается фильтрами-поглотителями, встроенными в резервуары выключателей. Продукты разложения, не поглощенные фильтрами, взаимодействуют с влагой, кислородом и парами металла и в небольших количествах выпадают в выключателях в виде тонкого слоя порошка. Сухой порошок - хороший диэлектрик.
Подвижные части дугогасительного устройства выключателя перемещаются изоляционной тягой, связанной с пневматическим приводом, шток которого входит в резервуар. Дугогасительное устройство крепится к стенкам резервуара с помощью эпоксидных опорных изоляторов специальной конструкции.
Вакуумные выключатели находят в последние годы все более широкое применение в электроустановках напряжением 10 кВ и выше. Их основными достоинствами являются простота конструкций, высокая степень надежности и небольшие расходы на эксплуатацию.
|
1 — сильфон; 2 — фланец; 3 - электростатический экран, имеющий потенциал ввода; 4 - электростатический экран, находящийся под свободным потенциалом; 5 - подвижный контакт; 6 — дугогасящий электрод; 7 — неподвижный контакт; 8 - керамический изолятор камеры; 9 — металлическая прокладка
Рис. 9.7.Разрез вакуумной дугогасительной камеры10 кВ:
Главной частью вакуумного выключателя является вакуумная дугогасительная камера (ВДК). На рис. 9.7 показан разрез ВДК, используемой в вакуумном выключателе ВВТ-10-1600-20. Цилиндрический корпус камеры состоит из двух секций полых керамических изоляторов 8, соединенных металлической прокладкой 9 и закрытых с торцов фланцами 2. Внутри камеры расположена контактная система и электростатические экраны, защищающие изоляционные поверхности от металлизации продуктами эрозии контактов и способствующие распределению потенциалов внутри камеры. Неподвижный контакт 7 жестко прикреплен к нижнему фланцу камеры. Подвижный контакт 5 проходит через верхний фланец камеры и соединяется с ним сильфоном 1 из нержавеющей стали, создающим герметичное подвижное соединение. Камеры полюсов выключателя крепятся на металлическом каркасе с помощью опорных изоляторов.
Подвижные контакты камер управляются общим приводом с помощью изоляционных тяг и перемещаются при отключении на 12 мм, что позволяет достигать высоких скоростей отключения (1,7-2,3 м/с).
Из камер откачан воздух до глубокого вакуума, который сохраняется в течение всего срока их службы. Таким образом, гашение электрической Дуги в вакуумном выключателе происходит в условиях, где практически отсутствует среда, проводящая электрический ток, поэтому изоляция межэлектродного промежутка восстанавливается быстро и дуга гаснет при первом прохождении тока через нулевое значение. Эрозия контактов под действием дуги при этом незначительна. Инструкциями допускается износ контактов 4 мм.
При обслуживании вакуумных выключателей проверяется отсутствие дефектов (сколов, трещин) изоляторов и загрязнений их поверхности, а также отсутствие следов разрядов и коронирования.
4. Порядок выполнения работы
3. Рассмотреть вид масленых выключателей и определить достоинства и недостатки
4. Рассмотреть неполадки каждого вида выключателей
Выводы
КОНТРОЛЬНЫЕ ВОПРОСЫ
1. Воздушные выключатели.
2. Объяснить схему распределительного шкафа воздушного выключателя.
3. Неполадки в работе воздушного выключателя.
4. Элегазовые выключатели.
5. Вакуумные выключатели.
6. Объяснить принцип работы воздушного выключателя.
7. Объяснить принцип работы элегазового выключателя.
8. Объяснить принцип работы вакуумного выключателя.
9. Области применения различных выключателей.
Лабораторная работа №10