Способы регулирования напряжения.
Одним из способов регулирования напряжения на шинах подстанции является переключение ответвлений на трансформаторах. С этой целью у обмоток (как правило, высшего напряжения, имеющих меньший рабочий ток) трансформаторов предусматриваются регулировочные ответвления и специальные переключатели ответвлений, при помощи которых изменяют число включенных в работу витков, увеличивая или уменьшая коэффициент трансформации
КВН-НН=UВН/UНН=wВН/wНН
ГдеWВН и WНН — число включенных в работу витков обмоток ВН и НН соответственно.
Изменение коэффициента трансформации между обмотками высшего и низшего напряжений позволяет поддерживать на шинах НН напряжение, близкое к номинальному, когда первичное или вторичное напряжение отклоняется по тем или иным причинам от номинального.
Операции переключения секции витков производят на отключенном от сети трансформаторе устройством ПБВ (переключение без возбуждения) либо на работающем трансформаторе непосредственно под нагрузкой устройством РПН (регулирование под нагрузкой). Трансформаторы большой мощности с устройствами ПБВ имеют до пяти ответвлении для получения четырех ступеней напряжения относительно номинального (±2x2,5 %)UHOM. В зависимости от класса напряжения трансформатора, его исполнения и числа, а ступеней регулирования применяют различные по конструкции переключатели ответвлений. Они могут быть трехфазными и однофазными.

Переключатель ответвлений барабанного типа (а) и схема переключения ответвлений" (б).
Рис. 4.1 Переключатель барабанного типа.
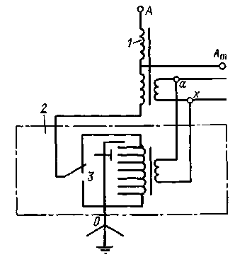
Однофазные переключатели барабанного типа (рис. 4.1) устанавливаются на каждой фазе обмотки ВН. Контактная система состоит из неподвижных контактов — полых токоведущих стержней 3 (Ai~A6 на рис. 4.1, б), соединенных с ответвлениями 2 от обмоток, и подвижных контактных колец 5, замыкающих между собой различные пары неподвижных контактов. Контактные кольца перемещаются коленчатым валом 4, ось которого при помощи изолирующей штанги 6 соединяется с приводом на крышке трансформатора. Переключатель смонтирован на изолирующих основаниях 1.
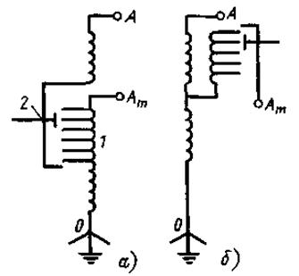
Трансформаторы с РПН имеют большее число регулирующих ступеней и более широкий диапазон регулирования (±10% UНОМ), чем трансформаторы с ПБВ. Применяемые схемы регулирования на трансформаторах представлены на рис. 4.2. Регулируемые витки размещены со стороны нейтрали, что позволяет применять устройства РПН с облегченной изоляцией. В схеме на рис. 4.2, б двухпозиционный переключатель - реверсор 5 позволяет присоединять регулировочную обмотку 3 к основной 1 согласно или встречно, благодаря чему диапазон регулирования удваивается по сравнению со схемой на рис. 4.2, а. На рис. 4.3 даны схемы регулирования на автотрансформаторах на стороне ВН и СН. Класс изоляции устройств РПН соответствует классу изоляции СН трансформатора.
|
Схемы регулирования на трансформаторах без реверсирования (а) и с реверсированием (б) регулировочной обмотки: 1,2- первичная и вторичная обмотки соответственно; 3 - регулировочная обмотка с ответвлениями; 4 – переключающее устройство; 5 - реверсор
Рис. 4.2. Регулировочные схемы на трансформаторах
|
а — на стороне ВН; б — на стороне СН; 1 — регулировочная обмотка с ответвлениями; 2 - переключающее устройство
Рис. 4.3Схема регулирования на автотрансформаторах
Помимо указанных способов для регулирования напряжения применяются специальные последовательные регулировочные трансформаторы. Они прибавляют к напряжению нерегулируемого трансформатора или автотрансформатора (или вычитают из него) некоторое добавочное напряжение. Схемы регулирования приведены на рис. 4.5 и 4.6.

Схема регулирования напряжения при помощи последовательного регулировочного трансформатора (а) и схема регулировочного автотрансформатора (б): 1 - главный трансформатор без РПН; 2 -последовательный регулировочный трансформатор; 3 — линия, в которой регулируется напряжение; 4 - регулировочный автотрансформатор; 5 - реверсор
Рис. 4.5.Схемы регулирования напряжения.

Схема регулирования напряжения на автотрансформаторе при помощи последовательного регулировочного трансформатора в нейтрали:1 — главный автотрансформатор; 2 — регулировочный трансформатор; 3 — реверсор
Рис. 4.6
4. Порядок выполнения работы
1. Рассчитать коэффициент трансформации трансформатора
2. На стенде произвести переключение анцапфы
3. Измерить рабочий ход рейки анцапфы
Выводы
КОНТРОЛЬНЫЕ ВОПРОСЫ
1. Способы регулирования напряжения.
2. Начертить схему регулирования напряжения на трансформаторах без реверсирования и с реверсированием регулировочной обмотки.
3. Начертить схему регулирования на автотрансформаторах.
4. Начертить схему регулирования на автотрансформаторе при помощи последовательного регулировочного трансформатора в нейтрали
Лабораторная работа №5