МЕХАНИЗМЫ ДЛЯ ВРАЩЕНИЯ ДОЛОТА
РОТОРЫ
Для вращения долота применяются роторы, турбобуры и электробуры. Рассмотрим схему устройства и работы роторов. Роторы предназначены для передачи вращательного движения бурильной колонне и, следовательно, долоту; для поддержания на весу бурильной колонны во время бурения; при спуско-подъемных и вспомогательных работах и обсадной колонны при спуске ее в скважину. Поэтому роторы должны обеспечивать необходимую частоту вращения долота, а их грузоподъемность должна превышать вес наиболее тяжелой колонны — бурильной или обсадной [9].
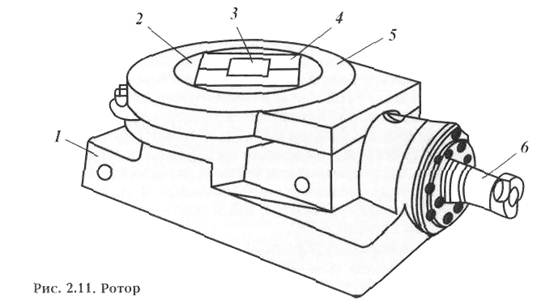
Ротор (рис. 2.11) состоит из станины 1, во внутренней полости которой установлен на шариковом подшипнике стол 2 с укрепленным зубчатым коническим венцом, вала 6 с цепным колесом с одной стороны и конической шестерней — с другой, кожуха 5, ограждающего периферийную часть вращающегося стола, вкладышей 4 и зажимов 3 для ведущей трубы.
Диаметр отверстия в столе ротора определяет максимальный диаметр долота, которое может пройти через него. В связи с этим выпускают роторы с различными диаметрами проходного отверстия (от 400 до 700 мм). В центральное отверстие вставляют два вкладыша 4, а внутрь — два зажима 3, В образовавшемся между зажимами отверстии квадратного сечения свободно размещается ведущая труба также квадратного сечения. Поэтому ведущая труба имеет возможность свободно перемещаться вдоль оси ротора и воспринимать вращающий момент от стола ротора.

Для смазки трущихся деталей и отвода тепла, образующегося при работе зубчатых передач и подшипников, в корпус ротора заливается масло.