Лекция № 20
Тема:Гидропривод
План:
1. Классификация гидропривода.
2. Гидрораспределители.
Гидропривод, в настоящее время успешно внедряемый в сборочно-сварочном производстве, обладает целым рядом преимуществ по сравнению с другими механизированными приводами; возможность создания очень больших усилий (в 10 раз и более по сравнению с пневмоприводом); компактность конструкции привода; плавность и бесшумность работы; основные элементы гидроприводов (цилиндры) не требуют смазки и не подвержены коррозии, так как их рабочие поверхности все время соприкасаются с маслом.
Наряду с этим для работы гидропривода требуется более сложная и дорогая аппаратура. Точность изготовления и чистота рабочей поверхности гидравлических цилиндров должна быть выше, чем пневматических. При применении гидропривода необходим также более тщательный монтаж гидроразводки и высокая культура обслуживания, так как даже небольшие утечки масла вызывают загрязнение рабочего места. Недостаток гидропривода — замедленная скорость движения поршня, особенно у цилиндров большого диаметра. Для увеличения скорости требуется значительное повышение мощности двигателя насоса.
В качестве рабочей жидкости в гидроприводе используют минеральное масло (индустриальное 20 или турбинное 22). Давление масла в гидроцилиндрах обычно составляет 50 или 100 кгс/см3- {5 или 10 МПа), но может достигать и больших величин. Основные элементы гидропривода — гидроцилиндры отличаются от пневмоцилиндров большей прочностью. Крышки цилиндра, как правило, укрепляются на резьбе.
Гидроцилиндры аналогично пневмоцилиндрам могут быть на лапах, с фланцевым и с шарнирным креплением — на пружине или на цапфах. Расчет их аналогичен расчету пневмоцилиндров двустороннего действия. Для работы гидропривода требуется специальная насосная установка — станция, состоящая из масляного резервуара (маслобака) и насоса (шестеренчатого или лопастного) с приводным электродвигателем.
Обязательной принадлежностью любой гидравлической установки является регулирующая аппаратура, направляющая (распределительная) аппаратура и фильтры. К регулирующей аппаратуре относятся обратные и предохранительные клапаны и дроссели.
Обратные клапаны предназначены для пропуска масла в одном направлении и перекрытия его в обратном. Устройство гидравлического обратного клапана в принципе не отличается от пневматического. Разница состоит ь большей прочности и точности изготовления, что относится и кс всей гидравлической аппаратуре.
Предохранительные клапаны служат для поддержания постоянного давления в гидросистемах, а также для предохранения гидросистем от перегрузки. Для этой же цели применяют и напорные гидроклапаны. Дроссели служат для регулировки скорости потока масла, а, следовательно, и скорости движения исполнительных органов гидропривода.
Направляющая {распределительная) аппаратура включает в себя гидрораспределители различных типов, предназначенные для реверсирования движения поршня в цилиндре, а также для остановки поршня в любом положении. Гидрораспределители выпускают с ручным, гидравлическим и электрическим управлением в различном конструктивном исполнении, обеспечивающем разные варианты соединений цилиндров с насосной установкой.
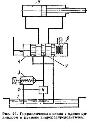
На рис. 46 показана принципиальная гидравлическая схема с одним гидроцилиндром 5, управляемым ручным гидрораспределителем золотникового типа 4. На схеме золотник 7 гидрораспределителя показан в среднем положении, при котором обе полости цилиндра изолированы и заперты. Масле от насоса 2 в этом случае сливается в бак 1 через предохранительный клапан 3.
При левом положении золотника масло от насоса по нагнетательному трубопроводу поступает через парораспределитель в правую полость цилиндра, а левая полость при этом соединяется со длинным трубопроводом, по которому масло поступает в бак. Шток при этом втягивается в цилиндр.
При правом положений золотника, наоборот, нагнетательный трубопровод соединяется с левой полостью, а сливной — с правой, и шток движется в обратную сторону. Неподвижность золотника в каждом из трех положений обеспечивает пружинный фиксатор 6. На схеме изображен гидрораспределитель так называемого четвертого исполнения, отличающийся тем, что при своем среднем положении он перекрывает обе полости цилиндра. Золотники в гидрораспределителях с электрическим управлением перемещаются электромагнитами. Обязательной принадлежностью любой гидросистемы является фильтр. Примером применения гидропривода может служить установка для сборки продольных стыков обечаек (см. рис. 56).
Поскольку установка специальной станции с индивидуальным насосом не всегда рациональна, то для приведения в действие гидроприводов используется энергия сжатого воздуха. Схема пневмогидропривода показана на рис. 47. Сжатый воздух от сети подается в воздушный цилиндр 1. При движении поршня 2 плунжер 3 давит на масло с силой

где D1 — диаметр воздушного цилиндра, см; рв — давление сжатого воздуха, кгс/см2.
Давление масла при этом повышается до величины

где d — диаметр плунжера, см.
Так как масло давит во все стороны, то сила на штоке гидравлического цилиндра 
где η — КПД привода, равный 0,8—0,9.
Сопротивленцем возвратных пружин в обоих случаях можно пренебречь. Выигрыш в силе пневмогидропривода пропорционален квадрату отношения диаметров гидравлического цилиндра и плунжер.
Приспособления с магнитами получают широкое распространение в различных отраслях машиностроения, в том числе и в сварочном производстве. Различают два вида приспособлений: с электромагнитами и с постоянными магнитами. Преимущество этих приспособлений — универсальность, быстрота действия, отсутствие движущихся частей (у электромагнитов) или громоздких-коммуникации — шлангов (у постоянных магнитов), простора устройства и обслуживания, компактность.
Особенно перспективны постоянные магниты, так как они полностью автономны и не требуют внешних источников энергии, в то время как для питания электромагнитов требуется постоянный ток.
В сборочных устройствах магнитные приспособления выполняют одновременно функции установочных и зажимных элементов (упора и прижима), располагаясь при этом с одной стороны изделия. Это значительно упрощает конструкцию сборочного устройства и полностью освобождают одну сторону изделия. В результате повышается чистота и культура рабочих мест, улучшаются условия для сварки. Широкое распространение получили магниты в приспособлениях для сборки листовых полотнищ. Приспособление располагается с нижней стороны свариваемых листов, а верхняя сторона полностью открыта для сварочной аппаратуры и сварщика (см. рис. 109).
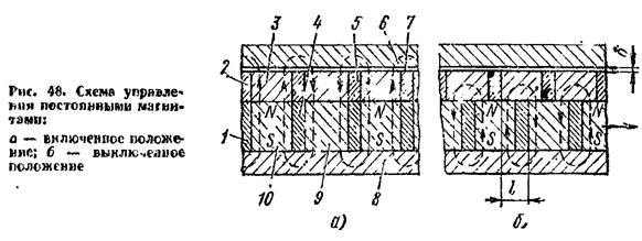
Управление электромагнитами осуществляется включением и отключением тока обычными электрическими выключателями, управление постоянными магнитами — путем изменения пути магнитного потока. Приспособление с постоянными магнитами (рис. 48) состоит из подвижной части 1, неподвижной части 2 и основания 8, являющегося магнитопроводом. На подвижной части имеются магниты 10 и магнитопроводы 9, разделенные немагнитными перегородками 4. Неподвижная часть состоит из магнитопроводов 5, разделенных немагнитными перегородками 5. При включении немагнитные перегородки обеих частей расположены друг против друга и магнитные потоки проходят от северных полюсов магнитов 10 через магнитопроводы 5, рабочий зазор 7, закрепляемую деталь 6, магнитопроводы 9 и 8 к южным полюсам магнитов 10. Более коротким путем магнитный поток пройти не может из-за немагнитных перегородок 4 и 5, представляющих собой значительные магнитные сопротивления.
Для отключения магнита достаточно сдвинуть подвижную часть на величину 1; при этом магнитный поток получит возможность замыкаться бол е коротким путем — от северного полюса магнитов 10 через магнитопроводы 3, 9 и 8 к южному полюсу. Таким образом магнитный поток минует деталь, которая легко снимается с приспособления. Подвижная часть перемещается ручным эксцентриком, кривошипным или винтовым механизмом. Так отключаются крупные магниты с большой величиной притяжения. Небольшие приспособления с постоянными магнитами отрываются от изделия обычно резким рывком.
Как известно, усилие притяжения магнита пропорционально квадрату магнитной индукции и площади контакта магнита с деталью. Магнитная индукция в электромагнитах зависит от числа ампер-витков катушки магнита, а в постоянных магнитах — от размеров и магнитных свойств материала магнита. Величина воздушного зазора влияет на усилие притяжения: чем больше зазор, тем труднее получить в нем необходимую магнитную индукцию. Поэтому величина зазора должна быть минимальной, желательно в пределах до 0,5 мм. В качестве материалов для постоянных магнитов используют или специальные сплавы, в которые, кроме железа, входит никель, алюминий, кобальт, медь (так называемые литые магниты), или керамические (оксидно-бариевые) магниты.
Литые магниты обладают большей прочностью и развивают удельное усилие притяжения до 7 кгс/см2 (70 Н/см2). Недостатком их является дефицитность исходных материалов и высокая стоимость. Оксидно-бариевые магниты сравнительно дешевы, недефицитны и развивают удельное усилие притяжения до 4 кгс/см* (40 Н/см2). Усилие сдвига составляет 20—25% усилия притяжения.
Примером применения зажимов с электромагнитами может служить установка для сборки обечаек с донышками (см. рис. 61).
К установочным и зажимным элементам близки по назначению и устройству переносные сборочные приспособления, отличающиеся от элементов тем, что не закрепляются на основаниях сборочных устройств, а используются самостоятельно.
Вопросы для самопроверки:
1. Назначение гидропривода.
2. Как осуществляется управление электромагнитами?
3. Назначение предохранительных клапанов.
Литература:
Базовая:
1. А.Д. Гитлевич, Механизация и автоматизация сварочного производства, М., Машиностроение, 1979г. – стр.290.
Вспомогательная:
1. С.А. Куркин, Сварные конструкции, М., Высшая школа, 1991г. – стр.398;
2. М.С. Львов, Автоматика и автоматизация сварочных процессов, М., Машиностроение, 1982г. – стр.302;
3. В.А. Тимченко, А.А. Сухомлин, Роботизация сварочного производства, К., Техника, 1989г. – стр.175;
4. Г. Герден, Сварочные работы, М., Машиностроение, 1988г. – стр.288;
5. Методические указания к выполнению практических работ по дисциплине «Технологическое оборудование»;