Классификация и основные показатели усилительных устройств
Многоканальные телекоммуникационные системы представляют собой большие технические комплексы, в состав которых входят функциональные узлы различного назначения и сложности. Среди них особое место занимают усилительные устройства.
Усилительные устройства МСП предназначены для:
а) компенсации затухания сигнала в каналах и трактах передачи, а также
в отдельных блоках МСП;
б) усиления сигналов до уровней, необходимых для нормальной работы
первичных преобразователей сигналов.
Обобщенная структурная схема усилительного устройства (УУ) показана на рис. 8.3 Основным блоком УУ является усилительный элемент (УЭ), который обеспечивает усиление мощности входного сигнала, поступающего от источника сигнала (ИС) через согласующую цепь связи (ЦС). Усиление мощности сигнала по закону сохранения энергии должно происходить за счет преобразования мощности, потребляемой (отбираемой) от источника питания (ИП). Усиленная мощность входного сигнала через выходную ЦС поступает в нагрузку (Н). Для получения значительного усиления мощности УУ строится по многокаскадной схеме.
Отсюда 

Рис. 8.3Рис. 8.4
Типовые эквивалентные схемы нагрузки, представляемой в виде
=
+ +
, показаны на рис. 8.5 (а, б, в). Использование той или иной схемы зависит от конкретного вида нагрузки, а также от влияния паразитных элементов схемы.
Усилительные устройства классифицируют по ряду признаков.
1. По характеру передаваемых сигналов различают усилители аналоговых
и импульсных сигналов (см. рис. 1.3—1.5).
2. По спектру усиливаемых частот сигнала:
а) усилители постоянного тока (они усиливают сигналы, у которых нижняя
граничная частота спектра
= 0);
б) усилители переменного тока (когда
> 0).
3. По виду частотной зависимости коэффициента передачи:
а) усилители с равномерной частотной характеристикой (ЧХ) в полосе час
тот
(рис. 8.6, зависимость 1);
б) частотно-зависимые усилители (кривые 2, 3);
в) широкополосные (
кривые 1,2,3);
г) узкополосные (
, кривая 4).

Рис. 8.5 Рис. 8.6
4. По применению в составе МСП различают усилители индивидуальные,
групповые, линейные, вспомогательные. Индивидуальныйусилитель предназначен для усиления индивидуального сигнала в соответствующем диапазоне частот. Например, индивидуальный усилитель телефонного сигнала должен обеспечивать передачу в полосе частот от 0,3 до 3,4 кГц. Групповойусилитель обеспечивает усиление групповых сигналов, несущих информацию о нескольких индивидуальных сигналах. Линейныеусилители предназначены для переда
чи групповых сигналов в линейном спектре частот по линии связи. Вспомогательныйусилитель служит для передачи служебных сигналов, которые обеспечивают нормальную работу МСП (например, служебную связь для обслуживающего персонала МСП, работу некоторых устройств автоматического регулирования параметров отдельных блоков МСП и т.п.).
5. По типу применяемых усилительных элементов:
а) ламповые (для больших мощностей);
б) транзисторные (на биполярных и полевых транзисторах);
в) интегральные.
6. По конструктивному исполнению различают усилители:
а) на дискретных элементах;
б) на интегральных схемах.
7. По типу согласующих цепей связи в многокаскадном УУ:
а) с непосредственными связями;
б) с емкостной или трансформаторной связью;
в) со сложными четырехполюсными согласующими цепями.
Качественные показателиУУ характеризуются практически тем же набором параметров, что и каналы передачи. Один из них — коэффициент полезного действия(КПД)
, равный отношению мощности усиленного сигнала переменного тока
, которая определяется в выходной цепи последнего усилительного элемента к мощности, которая потребляется от источника питания выходным (оконечным) каскадом
или всеми каскадами усиления
.
Стабильностьтого или иного показателя усилителя
является некоторой функцией
от ряда дестабилизирующих факторов 
Литература :
Осн. 1. [ 41-67 ]
Доп. 1. [ 293-21 ]
Контрольные вопросы
1. Каково назначение усилителей в многоканальных системах передачи?
2. Что называется амплитудно- и фазо-частотной характеристиками усилителя?
3. Как количественно определяются АЧИ усилителя?
-
Классификация усилителей аппаратуры многоканальных систем передачи. - Групповой усилитель.
- Индивидуальный усилитель тональных частот.
- Групповой усилитель на интегральной микросхеме.
Лекция №14 СИСТЕМЫ ПЕРЕДАЧИ С ЧРК ДЛЯ МЕСТНЫХ СЕТЕЙ
1. Система передачи АВУ.
2. Система передачи КАМА.
3. Затуханию-абонентской линии.
В настоящее время системы передачи с ЧРК широко используются и на местных сетях. С их помощью организуются соединительные и абонентские линии ГТС и сельская связь. Основной особенностью этих систем передачи является небольшая дальность действия.
Кроме упомянутых СП КАМА и АВУ, на местных сетях используются система передачи В-З-Зс и РРСП «Контейнер».
Система передачи АВУпредназначена для получения дополнительного канала на абонентских линиях ГТС, причем передача сигналов в полосе частот 0,3 ... 3,4 кГц не нарушается. Дополнительный канал может быть использован также в качестве линии к таксофонам.
Схема связи при применении системы передачи АВУ приведена на рис. 6.1. Спектр частот сигнала, передаваемого без преобразования (так называемый основной канал), ограничивает фильтр нижних частот ФНЧ. Граничная частота этого фильтра выбрана равной 3,4 кГц с тем, чтобы более высокие частоты, возникающие
при передаче разговорного сигнала, не оказывали мешающего действия на дополнительный канал.

Дополнительный канал организуется с помощью двух полукомплектов— станционного (СПК) и абонентского (АПК), служащих для преобразования исходной полосы частот разговорного сигнала в линейную полосу частот для передачи его от абонента к станции и обратно. Таким образом, использование СП типа АВУ позволяет по одной абонентской линии осуществлять передачу сигналов от двух абонентов одновременно.
Затухание, перекрываемое СП АВУ, соответствует затуханию-абонентской линии длиной 3,5 км (кабель с жилами диаметром 0,5 мм).
На рис. 6.2 показаны спектры частот основного канала, сигнал: по которому передается без преобразования, и канала СП АВУ. Основной канал занимает полосу частот до 3,4 кГц, а канал, образованный с помощью аппаратуры АВУ, занимает полосу частот 24 ... 68 кГц. Причем от абонента к станции передается полоса частот 24,6... 31,4 кГц (28±3,4 кГц), а от станции к абоненту 60,6... ...67,4 кГц (64±3,4 кГц). Достаточно большие полосы частот, отводимые на расфильтровку, упрощают конструкцию, а следовательно, и удешевляют фильтры.
Для уменьшения влияния помех от работы коммутационного оборудования станции на принимаемый сигнал от абонента к станции передается нижняя полоса частот, так как в линии она претерпевает меньшее затухание и ее приемный уровень выше.
Остаточное затухание канала СП АВУ равно 4,3 дБ, что соответствует максимально допустимому затуханию абонентской линии.
Станционный полукомплект питается от батареи станции. Дистанционное питание абонентского полукомплекта от станционной батареи невозможно, так как сигналы взаимодействия по линиям ГТС передаются постоянным током. Поэтому абонентский полукомплект питается от сети переменного тока. В случае перерыва в подаче переменного тока питание может производиться от местного источника — сухих батарей.
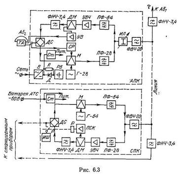
На рис. 6.3 приведена функциональная схема аппаратуры АВУ. Телефонный аппарат абонента, использующего канал СП АВУ, подключается к дифференциальной системе (ДС) абонентского полукомплекта. Питание на аппарат подается через статическое реле (СР), которое управляет работой модулятора (М). При разрыве цепи постоянного тока СР закрывает модулятор и передача на абонентского полукомплекта не производится.

Если цепь постоянного тока замкнута, то СР открывает модулятор. Разговорные токи, поступающие от телефонного аппарата через дифференциальную систему на модулятор, модулируют по амплитуде ток несущей частоты, который постоянно поступает на модулятор от генератора Г-28. Полосовой фильтр ПФ-28 выделяет несущую и обе боковые полосы частот (24,6... 31,4 кГц), устраняя побочные продукты преобразования.
Если длина усилительного участка меньше усилительной способности аппаратуры, то на выходе абонентского полукомплекта включается регулируемая искусственная линия (ИЛ), которая выравнивает уровни приема и уменьшает тем самым переходные влияния между каналами параллельных абонентских линий.
Фильтры ФНЧ-3,4 и ФВЧ-20 разделяют спектры основного и дополнительного каналов АВУ. На приемной станции фильтр ПФ-28 выделяет полосу 24 ... 32 кГц, а фильтр ФНЧ-3,4 выделяет после демодуляции исходный сигнал, который подается к приборам станции. После демодуляции ток несущей частоты преобразуется в постоянный ток, под действием которого срабатывает реле (Р) в приемнике сигнального канала (ПСК). Контакт реле подключает ко входу дифференциальной системы имитатор шлейфа (ИШ).
Это устройство имитирует замыкание абонентского шлейфа, обеспечивая нормальную работу приборов телефонной станции. Для
переменного тока сопротивление имитатора шлейфа велико, поэтому он не шунтирует тракт переменного тока.
Назначение элементов оборудования обратного направления передачи аналогично назначению рассмотренных элементов. Однако в модуляторе этого направления предусмотрено ограничение для 'Предотвращения перегрузки тракта токами вызывной частоты, амплитуда которых может достигать значительных величин. Кроме того, вызывные сигналы после демодуляции усиливаются отдельным усилителем и подаются на телефонный аппарат.
На функциональной схеме показано, что абонентский полукомплект может питаться либо от выпрямителя (В), либо от резервной батареи (РБ). Абонентский полукомплект выполнен в виде коробки, которая крепится к стене помещения. Станционный полукомплект располагается на станции на стандартных стативах. На одном стативе можно расположить 90 станционных полукомплектов.
Система передачи КАМАпредназначена для образования соединительных линий между АТС и РТС, а также между АТС и МТС. В качестве направляющей среды в этой СП используются кабели типа МКС, ВТСПБ, КСППБ и Т. Система передачи КАМА может работать в двух вариантах: по однокабельной двухполосной схеме в спектре частот 12... 252 кГц в одном направлении и 312... 548 кГц в обратном, по двухкабельной однополосной схеме в спектре частот 12... 248 кГц и позволяет организовать 30 каналов ТЧ. Система строится как однокабельная двухполосная при использовании кабелей МКС, МКПВ, КСПП и ВТСП и как двух-кабельная однополосная при использовании кабеля Т. При применении кабелей МКС и МКПВ длина усилительного участка может достигать 14,3 км, а дальность передачи — 80 км, а кабелей КСПП и ВТСП — соответственно 8 и 50 км. При необходимости использования кабеля типа Т приходится отбирать пары, удовлетворяющие требованиям по защищенности. Длина усилительного участка в данном случае не превышает 3,3 км из-за высокого уровня шумов, а дальность действия 23 км.

Схема образования линейного спектра СП КАМА приведена на рис. 6.4. Исходные полосы частот 0,3 ... 3,4 кГц и сигнальная частота 3,825 кГц с помощью 30 несущих частот, значения которых могут быть определены из выражения
=304 + 8
, где
—номер канала, переносятся в спектр частот 312... 548 кГц. Если система передачи работает как двухполосная, то эта полоса частот совместно с контрольной частотой 304 кГц передается в линию от станции Б к станции А. Для передачи в обратном направлении спектр 312 ... 548 кГц с помощью несущей частоты 560 кГц преобразуется в спектр 12... 248 кГц. Совместно с этим спектром передаются контрольная частота 256 кГц и частота 8 кГц, необходимая для синхронизации опорных частот генераторного оборудования оконечных станций.
Если СП КАМА будет однополосной, то в обоих направлениях в линию передается спектр 12 ... 248 кГц, сформированный так, как указывалось выше.
При организации с помощью СП КАМА соединительных линий используются реле соединительных линий. Для исходящей связи предназначены исходящие релейные комплекты РСЛУИ, а для входящей —входящие релейные комплекты РСЛУВ. При занятии свободной соединительной линии (канала СП КАМА) из комплекта РСЛУИ на статическое реле будет подаваться плюс батареи, под действием которого это реле открывается и сигнальная (управляющая) частота 3825 Гц поступает на модулятор. Модулированная управляющая частота проходит весь тракт системы и после демодуляции на приеме выделяется и детектируется в приемнике сигналов управления (ПСУ), в результате на РСЛУВ подается постоянный ток. В этом комплекте срабатывает приемное реле, подавая плюс батареи на статическое реле (СР). Реле срабатывает, и сигнальная частота посылается в обратном направлении. Если сигнальная частота, например из-за неисправности канала, не поступает на исходящий конец, то абонент получает сигнал «Занято». После того как он положит трубку, неисправный канал блокируется и до исправления не может быть занят. При исправном канале с момента установления соединения до ответа абонента на исходящий конец поступает сигнальная частота, которая передает сигнал «Контроль посылки вызова».
Литература :
Осн. 1. [ 41-67 ]
Доп. 1. [ 293-21 ]
Контрольные вопросы
1. Какое назначение оборудования в многоканальных системах передачи?
2. Дайте краткую характеристику МСП К-3600 и ее применение?
3. Дайте краткую характеристику МСП К-1920П и ее применение
.
4. Дайте краткую характеристику МСП К-300 и ее применение
5. Дайте краткую характеристику МСП К-120 и ее применение
6. Дайте краткую характеристику МСП К-60 и ее применение
7. Дайте краткую ТТХ радиорелейных МСП и их сравнительный анализ.
Лекция №15. СИСТЕМЫ ПЕРЕДАЧИ С ЧРК
ДЛЯ МАГИСТРАЛЬНОЙ И ВНУТРИЗОНОВОЙ СЕТЕЙ
1. Система передачи К-3600.
2. Система передачи К-1920П.
3. Радиорелейные системы передачи Р-600М и Р-6002М.
В настоящее время магистральная сеть организуется с использованием коаксиального кабеля с парами диаметром 2,6/9,4 мм, а внутризоновая — с использованием коаксиального кабеля с парами малого диаметра или симметричного кабеля. Кроме того, на: этих сетях широко применяются РРЛ. С использованием коаксиального кабеля с парами нормального диаметра работают системы передачи К-1920П и К-3600, с использованием кабеля с парами малого диаметра — система передачи К.-300 и симметричного кабеля — система передачи К-60П. Все эти системы построены по однополосной четырехпроводной схеме.
На магистральных и внутризоновых сетях используются практически одни и те же РРСП (Р-600 и- ее модификации, КУРС), однако выпускаются и упрощенные РРСП только для внутризоновых сетей («Область-1»). Следует заметить, что при построении последних применяются те же принципы, что и в РРСП для магистральных сетей.
Система передачи К-3600позволяет по двум коаксиальным парам получить 3600 каналов ТЧ или 1800 каналов ТЧ и канал телевизионного вещания с каналом звукового сопровождения и. двумя каналами звукового вещания. Линейный спектр системы занимает полосу частот 812... 17 596 кГц, дальность действия системы передачи 12 500 км. Каналы этой системы могут быть использованы в качестве участка международных связей общей протяженностью до 25 000 км.
В линейном тракте К-3600 применяются обслуживаемые (ОУЛ) и необслуживаемые (НУП) усилительные пункты. На участке ОУП — ОУП, максимальная протяженность которого. 186 км, размещаются 61 НУП, питаемые дистанционно. Длина усилительного участка составляет 3±0,075 км. Максимальная длина переприемного участка по ТЧ равна 1500 км.
Необслуживаемые усилительные пункты подразделяются на три типа: основной, в котором предусмотрена возможность регулировки усиления в соответствии с длиной участка, регулирующий и корректирующий (каждый двадцатый). Регулирующий НУП содержит устройства П-АРУ и Т-АРУ. В зависимости от величины колебаний среднегодовой температуры кабеля At регулирующими НУП являются: каждый пятый (
=±12,5°С),. каждый шестой (
=±9°С) или каждый восьмой (
=±6,5°С),. В корректирующем НУП имеются устройства коррекции АЧХ.
Во всех ОУП используется трехчастотная П-АРУ.
Система передачи К-1920Ппозволяет организовать по двум шарам либо 1920 каналов ТЧ, либо 300 каналов ТЧ и канал телевизионного вещания со звуковым сопровождением. Линейный спектр системы 312... 8544 кГц, дальность действия 12,5 тыс. км, максимальная длина переприемного участка по ТЧ равна 1500 км. Указанную дальность действия обеспечивают ОУП и НУП. Протяженность участка ОУП — ОУП с использованием кабеля КМ-4 не должна превышать 246 км, а кабеля КМ-8/6—186 км. Рекомендуемая длина усилительного участка равна 6±0,15 км.
В этой системе используются основные и регулирующие НУП. Регулирующим является каждый четвертый НУП (при
= = ±12,5° С), каждый шестой (
=±9° С) или каждый восьмой (при
= ± 6,5 °С) участка ОУП —ОУП.
Система передачи К-300позволяет по двум коаксиальным парам организовать 300 каналов ТЧ. Линейный спектр К-300 составляет 60... 1300 кГц, максимальная дальность связи 12 500 км. Для распределения каналов вдоль магистрали предусмотрена возможность выделения трех вторичных групп. Расстояние между ОУП не должно превышать 246 км, рекомендуемая длина усилительного участка составляет 6 км. Однако усилители системы позволяют компенсировать затухание участков протяженностью 5,7... 6,15 км. Число НУП, устанавливаемых на секции предельной длины, равно 40. В этой системе передачи используются НУП трех типов: с АРУ по температуре грунта (Т-АРУ), с АРУ по КЧ (П-АРУ) и с устройствами коррекции АЧХ. Второй тип НУП устанавливается через четыре НУП с Т-АРУ. Корректирующий НУП устанавливается через 60 ... 90 км.
Во всех ОУП и ОП используется двухчастотная система П-АРУ.
Система передачи К-60Пработает в спектре частот 12... ... 252 кГц по симметричному кабелю. Для устранения внятных переходов между каналами систем К-60П, использующих одно-четверочный кабель, линейный спектр одной системы передачи выбирается соответствующим основному, а второй—инвертированному.
Максимальная дальность связи составляет 12 500 км, протяженность переприемного участка по ТЧ равна 2500 км. В системе передачи К.-60П используются ОУП двух типов: с двух- и трехчас-тотной П-АРУ. Максимально возможное расстояние между первыми типами ОУП равно 300, а между вторыми 600 км. На секции ОУП — ОУП может быть расположено до 12 НУП, питаемых дистанционно по схеме «провод—земля». Номинальная длина усилительного участка 19,4 км. Все НУП имеют частотно-зависимую Т-АРУ.
Система передачи К-120также относится к системам передачи, предназначенным для внутризоновых сетей. В отличие от рассмотренных она строится как двухпроводная двухполосная, поскольку в качестве направляющей среды применяется однокоаксиальный кабель. Линейный спектр частот составляет 60... 552 кГц в одном направлении и 812... 1304 кГц в другом.
Дальность действия системы передачи К-120 при двух пере-приемах по высокой частоте составляет 600 км. Протяженность переприемного участка 200 км при работе по подземному кабелю и 150 км по подвесному кабелю. Конструктивно однокоаксиальный кабель выпускается в двух вариантах: приспособленным для про-кладки в грунт и для подвески на опорах. Номинальная длина усилительного участка 10 км.
На переприемном участке устанавливаются только НУП, питаемые дистанционно. На некоторых НУП предусмотрена возможность ответвления и ввода 12-канальной группы. Пункты приема выделенных каналов являются обслуживаемыми. Для повышения-надежности, уменьшения объема оборудования и потребляемой мощности в схемах НУП на оба направления передачи используется один усилитель (см. рис. 5.3).
Контрольная частота 1364 кГц, управляющая работой АРУ всех пунктов, обеспечивает достаточно точную компенсацию изменения затухания участков обоих направлений передачи из-за небольшого разброса длин участков и практически одинакового характера изменения их затухания. Контрольная частота обратного направления лередачи 564 кГц управляет только АРУ приемной станции.
Радиорелейные системы передачи Р-600М и Р-6002Мработают в диапазоне 3400... 3900 МГц по двухчастотному плану. В телефонном стволе можно организовать 600 каналов ТЧ. Телевизионный ствол обеспечивает передачу видеосигнала и сигналов звукового сопровождения. Дальность действия их составляет 2500 км. В этих СП применяются рупорно-параболичеекие антенны. В СП Р-600М гетеродин выполнен на отражательном клистроне. Мощность на выходе передатчика равна 2 Вт. При замираниях сигнала на интервале уровень входного сигнала уменьшается, однако мощность выходного сигнала при этом не изменяется за счет работы АРУ в тракте ПЧ.
Система Р-6002Мявляется модернизацией Р-600М, отличие ее заключается в основном в устройстве гетеродинного тракта. В системе F*-6002M сигнал гетеродина получается путем умножения по частоте колебаний, генерируемых задающим кварцевым генератором, работающим на одной из частот в диапазоне 48 ...52 МГц (в зависимости от номера ствола). Отсутствие клистрона в-гетеродинном тракте позволяет получить высокую надежность и стабильность, работы приемопередатчика. Кроме того, эта СП имеет более высокие качественные показатели. Мощность на выходе передатчика равна 5 Вт.
Система передачи «Рассвет»является одной из последних модификаций Р-600М. Система работает в диапазоне частот 3,4... ... 3,9 ГГц и позволяет организовать четыре универсальных ствола. Емкость телефонного ствола 720 каналов ТЧ, мощность на выходе передатчика 5 Вт, дальность действия системы 2500 км. В этой системе передачи используются рупорно-параболические антенны и двухзер-кальные антенны с эллиптическим переизлучателем.
Радиорелейная система передачи «Восход»работает в диапазоне частот 3,4 ... 3,9 ГГц и позволяет организовать восемь универсальных стволов. Емкость телефонного ствола составляет 1920 каналов ТЧ, дальность действия 12,5 тыс. км, мощность на выходе лередатчика 10 Вт.
Для получения высокой надежности в СП .«Восход» применяется разнесенный по высоте прием с быстродействующей системой автовыбора и параллельная работа передатчиков. Разнесенный прием эффективно защищает СП от замираний сигнала на интервале и обеспечивает автоматическое резервирование приемников. Параллельная работа передатчиков осуществляет их резервирование и увеличивает выходную мощность.
Радиорелейная система передачи КУРС - это комплекс унифициро-ванных систем передачи, в состав которого входит КУРС-4 и КУРС-б, предназначенные для магистральных сетей, а также КУРС-2М. и КУРС-8 для внутризоновых сетей. Для СП типа КУРС унифицирована аппаратура резервирования, служебной связи, телеобслуживания, ввода и выделения каналов ТЧ, образования видеоканала и звукового сопровождения, модемы. Идентично также построение приемопередающей СВЧ-аппаратуры. Особенностью СП КУРС является наличие отдельных гетеродинных трактов для приемников и передатчиков.
Система передачи КУРС-2М работает в диапазоне 1,7 ... 2,1 ГГц и позволяет создать три двухсторонних ствола. В этой СП применяется четырехчастотный план распределения частот, емкость телефонного ствола до 300 каналов ТЧ, дальность действия при передаче телефонных сигналов 1400 км, а сигналов телевизионного вещания 600 км. В СП КУРС-2М используется перископическая антенна, а в качестве фидера — коаксиальный кабель.
Система передачи КУРС-4 работает в диапазоне 3,4... 3,9 ГГц .и позволяет организовать восемь стволов. В этой системе передачи используется двухчастотный план распределения частот. Емкость телефонного ствола составляет 720 каналов ТЧ, дальность действия 2500 км, мощность на выходе передатчика 0,5 Вт. В СП КУРС-4 используются рупорно-параболические, двухзеркальные с эллиптическим переизлучателем и перископические антенны.
Система передачи КУРС-6 работает в диапазоне 5,67 ... 6,17 ГГц и позволяет организовать восемь универсальных стволов, емкость -телефонного ствола равна 1320 каналов ТЧ. Дальность действия системы составляет 2500 км, мощность на выходе передатчика равна 7,5 Вт. В этой СП используется двухчастотный план распределения частот и применяется тот же тип антенн, что и в КУРС-4.
Система передачи КУРС-8 работает в диапазоне 7,9,.. 8,4 ГГц и позволяет создать четыре универсальных ствола, емкость каждого из них составляет 300 каналов ТЧ. Дальность действия системы для телефонных сигналов составляет 1400 км, а для телевизионных сигналов 800 'км, мощность на выходе передатчика равна 0,3 Вт. В этой СП применяются двухчастотный план распределения частот, а также двухзеркальные с эллиптическим переизлучателем и перископические антенны.
С целью эффективной борьбы с замираниями сигналов на интервалах РРЛ систем передачи КУРС-4 и КУРС-б резервные стволы и телефонный ствол, в котором передаются сигналы служебной связи, должны быть закреплены за конкретными частотами (номерами стволов). Остальные стволы могут быть как телевизионными, так и телефонными, однако следует избегать их чередования.
Литература :
Осн. 1. [ 41-67 ]
Доп. 1. [ 293-21 ]
Контрольные вопросы
7. Какое назначение оборудования в многоканальных системах передачи?
8. Дайте краткую характеристику МСП К-3600 и ее применение?
9. Дайте краткую характеристику МСП К-1920П и ее применение
.
10. Дайте краткую характеристику МСП К-300 и ее применение
11. Дайте краткую характеристику МСП К-120 и ее применение
12. Дайте краткую характеристику МСП К-60 и ее применение
7. Дайте краткую ТТХ радиорелейных МСП и их сравнительный анализ.